Комментарии 26
Войдите или зарегистрируйтесь, чтобы писать комментарии, задавать вопросы и участвовать в обсуждении.
Так в чем причина была по Ошибке Р0А09. Сегодня на машине знакомый менял малый аккумулятор и видно не верно отсоединял и посрединял клеммы, нужно сначала минус отсоединять, потом плюс, обратно наоборот, ну он не так делал, в результате эта ошибка и не включается машинка.
Чё-то молчит.
Видимо сложнее или ищет детальку.
Да в златоглавой столице был, майбахов и ролсов больше чем приусов.
Имеется у вас в Абакане гибридных дел мастер?
Что там — сделали ? Что за причина то ?
Печаль-беда славному городу саду!
Надейся, что это к лучшему.
А вообще — открыли, посмотрели (прозвонили), показали тебе. Иди ищи деталь.
Иди туда и пусть покажут саму машину и что они сделали за 3 дня !
Как бы у тя там не поснимали с нее ченить.
3 день сервиса подходит к концу.
Сам звонил интересовался, говорят до конца недели пробудет.
Есть подсказки с форумов что да как и почему но это все абстрактно. Буду им каждый день напоминать о себе.
А что, в тех центре спецы не знают что с такими ошибками делать?
Пока не знают. Тех поддержка из столицы помогает советами/наводками.
Ну ясно.
Да ниче !
Все решается !
Удачи в решении проблемы!
С батареей проблемы были? Не подключали -типа села батарея?
Но все-таки без вскрытия никак к сожалению (((
Неее, в батарейку не вмешивались. Села/колхоза не было.
Пусть вскрывают.
На форумах находил одного гибридовода, у него глюки были из-за воды и инвенторе. Но как она туда попала уже не помню.
Остается надеятся на компетентность сервисмена салона.
Помпу (т.е. ремкомплект насоса охлаждения) по сервисной компаниий меняли 29.06.2013 г. + циркуляция идет т.е. она жива.
Проблема с конвертером.
P0A08(264)-DC\DC converter malfunction-replace converter assy.
P0A09(591)-open or GRN SHORT in VLO circuit of DC\DC converter
Надо его вскрывать. И может быть увидишь че-нить паленое (((
Конвертер живее всех живых.
Что сказать, тут не поспоришь, он и вправду под инвертером.
На чтение 4 мин Просмотров 1.2к.
Рассмотрим подробнее
- Техническое описание и расшифровка ошибки P0A09
- Симптомы неисправности
- Причины возникновения ошибки
- Как устранить или сбросить код неисправности P0A09
- Диагностика и решение проблем
- Визуальный осмотр
- На каких автомобилях чаще встречается данная проблема
- Видео
Код ошибки P0A09 звучит как «низкий уровень сигнала в цепи состояния преобразователя DC/DC». Часто, в программах, работающих со сканером OBD-2, название может иметь английское написание «DC/DC Converter Status Circuit Low».
Код неисправности P0A09 предназначен для отображения исключительно на гибридных автомобилях. Означает, что модуль управления трансмиссией (PCM) обнаружил низкий уровень сигнала в цепи состояния преобразователя DC/DC.
Преобразователь DC/DC предназначен для преобразования напряжения постоянного тока от высоковольтной батареи в напряжение постоянного тока 12В. Которое используется для подачи питания на освещение, аудиосистему и ЭБУ автомобиля. Кроме того, через преобразователь происходит заряд вспомогательной батареи.
Модуль управления (PCM) использует сигнальную линию NODD для передачи команд на DC/DC-преобразователь и приема сигналов. Указывающих на нормальное или ненормальное состояние системы зарядки 12В.
Если автомобиль движется с неработающим DC/DC-преобразователем, напряжение вспомогательной батареи будет падать, что не позволит продолжить эксплуатацию автомобиля. Поэтому PCM следит за работой преобразователя DC/DC и при наличии ошибки P0A09 предупреждает водителя об обнаруженной неисправности.
Симптомы неисправности
Основным симптомом появления ошибки P0A09 для водителя является подсветка MIL (индикатор неисправности). Также его называют Check engine или просто «горит чек».
Также они могут проявляться как:
- Загорится контрольная лампа на панели управления (код будет записан в память как неисправность).
- Могут присутствовать другие связанные коды.
- Снижение производительности автомобиля.
- Повышенный расход топлива.
- Деактивация электродвигательной установки.
- Полное отсутствие запуска двигателя.
Серьезность кода P0A09 высокая, так как неисправность связана с основными компонентами гибридного транспортного средства. Проблему необходимо устранить как можно скорее.
Причины возникновения ошибки
Код P0A09 может означать, что произошла одна или несколько следующих проблем:
- Неисправен DC/DC-преобразователь.
- Коррозия, ослабление или обрыв электрических проводов и соединений.
- Перегоревшие предохранители или плавкие вставки.
- Не соблюдение полярности, при замене аккумулятора.
- Иногда причиной является неисправный модуль PCM.
Некоторые предлагаемые шаги для устранения неполадок и исправления кода ошибки P0A09:
- Подключите сканер OBD-II к диагностическому разъему автомобиля и считайте все сохраненные данные и коды ошибок.
- Очистите коды ошибок с памяти компьютера и проведите тест-драйв автомобиля, чтобы выяснить, появляется ли код P0A09 снова.
- Если код ошибки появится снова, визуально осмотрите электрические провода и соединители.
- При необходимости отремонтируйте или замените все закороченные, оборванные, поврежденные или подвергнутые действию коррозии компоненты.
- Проверьте предохранители и плавкие вставки.
- Протестируйте DC/DC-преобразователь.
- Если проблема сохраниться, проверьте и при необходимости замените модуль управления двигателем (PCM).
Диагностика и решение проблем
Первым шагом в процессе устранения неполадки P0A09, является изучение бюллетеней технического обслуживания (TSB). На предмет известных проблем с конкретным автомобилем.
Шаги расширенной диагностики являются очень специфичными для каждого автомобиля. Для этого могут потребоваться, специальное оборудование и знания для точного выполнения действий.
Визуальный осмотр
Визуально осмотрите DC/DC-преобразователь гибридного автомобиля и все электрические цепи на наличие признаков коррозии или разомкнутых контактов. При необходимости удалите коррозию и отремонтируйте неисправные компоненты.
Проверьте предохранители и плавкие вставки, вышедшие из строя, замените. После извлечения всех сохраненных кодов, удалите их и проведите пробную поездку на автомобиле, чтобы убедиться, что код P0A09 сброшен.
Если проведенные тесты не выявили неисправность, проблема может быть с самим DC/DC-преобразователем или PCM модулем. Поэтому лучше обратиться к специалисту, который сможет решить проблему с этими блоками.
Частая причина данной ошибки кроется в неправильной замене аккумулятора, когда при установке путают полярность. В простом случае перегорит предохранитель, в тяжелом, плата DC/DC-преобразователя.
На каких автомобилях чаще встречается данная проблема
Проблема с кодом P0A09 может встречаться на различных машинах, но всегда есть статистика, на каких марках эта ошибка присутствует чаще. Вот список некоторых из них:
- Ford (Форд Транзит, Фокус)
- Lexus
- Toyota (Тойота Камри, Приус)
С кодом неисправности Р0А09 иногда можно встретить и другие ошибки. Наиболее часто встречаются следующие: P0098, P0642, P0A08, P0A10, P0A11, P0A12, P0A13, P2229.
Видео
-
07.12.2014 17:18
#1
Ошибка P0A09 Не включается инвертер после смены аккумулятора
Всем добрый день. Сразу оговорюсь, что проблема не моя, а знакомой девушки. Просит оказать ей помощь. Prius 2007 года, американец.Теперь суть. Был дохлый малый аккумулятор, часто прикуривали авто. Неделю назад родственник ей купил новый аккумулятор и стал его менять. Порядок снятия клемм и подсоединения их он не помнит, говорит » какая разница «, понятно что это может быть основной причиной поломки. Позвонила мне, я приехал и что вижу: при включении авто загорается только желтый «чек» и открытая дверь авто, все больше ни на что не реагирует. Подсоединил сканер, выдал ошибки, основная считаю это P0A09. Опять же родственник позвонил знакомому, говорит он ремонтирует Prius. На следующий день она эвакуатором отвозит машинку ему в ремонт. Неделю он все смотрит, что ремонтирует, и его вердикт «Если не получиться самому исправить нужен другой инвертер, не конвертер (плата), а в сборе инвертер. Причина в том, что был старый аккумулятор и он повредил инвертер», .Первый раз слышу чтобы от этого выходил из строя инвертер.
Вопрос знатокам, кто что может сказать по этому:
1. Могло ли быть, что поломался инвертер из за дохлого аккумулятора, он нужен только для запуска системы и все.
2. Причина поломки в порядке снятия и подсоединения клемм.
3. Совет по ремонту (понятно, что нужно все прозвонить, так не видя плату проблему не решить).
https://yadi.sk/d/oRFDI-BXdCnHZ
Тут все фото.
-
07.12.2014 17:57
#2
даже с полностью демонтированным инвертером на панели лампочек больше загорается чем
только желтый «чек» и открытая дверь авто
Highlander Hybrid 2019
Ремонт гибридных автомобилей
http://baza.drom.ru/user/Lomic2005/
-
07.12.2014 19:14
#3
родственник запалил важный предохранитель, ибо вариант пох какая клема не прокатил по ходу , напиши свой город, люди тебе помогут на месте .
-
07.12.2014 19:18
#4
Сообщение от Сонет
Всем добрый день. Сразу оговорюсь, что проблема не моя, а знакомой девушки. Просит оказать ей помощь. Prius 2007 года, американец.Теперь суть. Был дохлый малый аккумулятор, часто прикуривали авто. Неделю назад родственник ей купил новый аккумулятор и стал его менять. Порядок снятия клемм и подсоединения их он не помнит, говорит » какая разница «, понятно что это может быть основной причиной поломки. Позвонила мне, я приехал и что вижу: при включении авто загорается только желтый «чек» и открытая дверь авто, все больше ни на что не реагирует. Подсоединил сканер, выдал ошибки, основная считаю это P0A09. Опять же родственник позвонил знакомому, говорит он ремонтирует Prius. На следующий день она эвакуатором отвозит машинку ему в ремонт. Неделю он все смотрит, что ремонтирует, и его вердикт «Если не получиться самому исправить нужен другой инвертер, не конвертер (плата), а в сборе инвертер. Причина в том, что был старый аккумулятор и он повредил инвертер», .Первый раз слышу чтобы от этого выходил из строя инвертер.
Вопрос знатокам, кто что может сказать по этому:
1. Могло ли быть, что поломался инвертер из за дохлого аккумулятора, он нужен только для запуска системы и все.
2. Причина поломки в порядке снятия и подсоединения клемм.
3. Совет по ремонту (понятно, что нужно все прозвонить, так не видя плату проблему не решить).
https://yadi.sk/d/oRFDI-BXdCnHZ
Тут все фото.гонит стопудово, срочно забирай машину , залечит этот шаман её на смерть, там работы на 30 минут, за неделю можно штук 20 более тяжёлых трупов с того света вернуть ,
вынув из этой машины все 10 компов, инвертор и ввб, на панели будет гореть всё что там может гореть и плюс монитор , а у тебя всё на месте и две лампочки всего горит .Последний раз редактировалось Boris Putincev; 07.12.2014 в 19:20.
-
08.12.2014 06:50
#5
PRIUS in RED
приусоводам в Ростове на Дону считывание ошибок — бесплатно))
обращаться в личку
-
08.12.2014 06:52
#6
PRIUS in RED
приусоводам в Ростове на Дону считывание ошибок — бесплатно))
обращаться в личку
-
08.12.2014 08:10
#7
Сообщение от werwef
запаять там надо обязательно, если только плоскогубцами и проволокой то можно и сгореть.
-
08.12.2014 11:44
#8
Плюсую за предохранители если родственник больше ничего не спалил при переполюсовке аккумулятора, чудес не бывает
T-WINDOM MCV20-ATPGK
T-PROGRES NC300, JCG11-AEAZH(W), 05.2005
-
08.12.2014 11:49
#9
Сообщение от Сонет
Неделю назад родственник ей купил новый аккумулятор и стал его менять. Порядок снятия клемм и подсоединения их он не помнит, говорит » какая разница «, понятно что это может быть основной причиной поломки.
понятно, основная причина поломки в том, что родственник пытался помочь, купил новый акб и не запомнил, какую из клемм он подключил сначала, + или землю? мне почему то кажется, что знакомая девушка тут большее зло для приуса, чем её? родственник. пусть выскажется хозяйка приуса.
Последний раз редактировалось тулуп; 08.12.2014 в 11:51.
-
08.12.2014 12:03
#10
Сообщение от тулуп
понятно, основная причина поломки в том, что родственник пытался помочь, купил новый акб и не запомнил, какую из клемм он подключил сначала, + или землю?
Разницы никакой нет в последовательности подключения клемм, рекомендация производителя только из соображений безопасности чтобы не расплавить гаечный ключ и не попалить массы в машине если случайно коснёшься металлической поверхности при затягивании плюса. Там была случайная переполюсовка скорее всего
Последний раз редактировалось cti; 08.12.2014 в 12:06.
T-WINDOM MCV20-ATPGK
T-PROGRES NC300, JCG11-AEAZH(W), 05.2005
-
08.12.2014 16:55
#11
Сообщение от тулуп
пусть выскажется хозяйка приуса.
Знаю к чему клонишь и чем кончится
Сообщение от cti
Разницы никакой нет в последовательности подключения клемм, рекомендация производителя только из соображений безопасности …
Когда у тестя сломался климат, автоэлектрик на полном серьёзе пытался объяснить сиё неправильной последовательностью посадки клемм. Когда я попросил объяснить как оно влияет, обидчиво спросил: «чего тогда сам не чинишь раз такой умный?».
ВАЗ 21074 карбовая -> Prius NHW20 + I-miev титанатка
Так в чем причина была по Ошибке Р0А09. Сегодня на машине знакомый менял малый аккумулятор и видно не верно отсоединял и посрединял клеммы, нужно сначала минус отсоединять, потом плюс, обратно наоборот, ну он не так делал, в результате эта ошибка и не включается машинка.
Чё-то молчит.
Видимо сложнее или ищет детальку.
Да в златоглавой столице был, майбахов и ролсов больше чем приусов.
Имеется у вас в Абакане гибридных дел мастер?
Что там — сделали ? Что за причина то ?
Печаль-беда славному городу саду!
Надейся, что это к лучшему.
А вообще — открыли, посмотрели (прозвонили), показали тебе. Иди ищи деталь.
Иди туда и пусть покажут саму машину и что они сделали за 3 дня !
Как бы у тя там не поснимали с нее ченить.
3 день сервиса подходит к концу.
Сам звонил интересовался, говорят до конца недели пробудет.
Есть подсказки с форумов что да как и почему но это все абстрактно. Буду им каждый день напоминать о себе.
А что, в тех центре спецы не знают что с такими ошибками делать?
Пока не знают. Тех поддержка из столицы помогает советами/наводками.
Ну ясно.
Да ниче !
Все решается !
Удачи в решении проблемы!
С батареей проблемы были? Не подключали -типа села батарея?
Но все-таки без вскрытия никак к сожалению (((
Неее, в батарейку не вмешивались. Села/колхоза не было.
Пусть вскрывают.
На форумах находил одного гибридовода, у него глюки были из-за воды и инвенторе. Но как она туда попала уже не помню.
Остается надеятся на компетентность сервисмена салона.
Помпу (т.е. ремкомплект насоса охлаждения) по сервисной компаниий меняли 29.06.2013 г. + циркуляция идет т.е. она жива.
Проблема с конвертером.
P0A08(264)-DCDC converter malfunction-replace converter assy.
P0A09(591)-open or GRN SHORT in VLO circuit of DCDC converter
Надо его вскрывать. И может быть увидишь че-нить паленое (((
Конвертер живее всех живых.
Что сказать, тут не поспоришь, он и вправду под инвертером.
Расшифровка ошибки P0A09-591 у Toyota: Низкий входной сигнал цепи состояния преобразователя постоянного тока
Марка:
Toyota
Код:
P0A09-591
Определение:
Низкий входной сигнал цепи состояния преобразователя постоянного тока
Описание:
Неисправность сигнальной цепи переключения напряжения (VLO) преобразователя гибридного транспортного средства (преобразователь постоянного тока в постоянный) (обрыв или короткое замыкание на массу)
Причина:
- ЭБУ управления гибридным автомобилем.
- Жгут проводов или разъем
- Преобразователь гибридного автомобиля (преобразователь постоянного / постоянного тока)
Опрос: Где ремонтируется Ваш автомобиль? (Кол-во голосов: 1129)
У себя в гараже
У официалов
В гараже у Васи
Чтобы проголосовать, кликните на нужный вариант ответа.Результаты
From english:
Decoding the error P0A09-591 from Toyota: DC / DC Converter Status Circuit Low Input
Make:
Toyota
Code:
P0A09-591
Definition:
DC / DC Converter Status Circuit Low Input
Description:
Hybrid vehicle converter (DC/DC converter) voltage switching (VLO) signal circuit malfunction (Open or short to GND)
Cause:
- Hybrid vehicle control ECU
- Wire harness or connector
- Hybrid vehicle converter (DC/DC converter)
Еще ошибки категории
Ошибки автомобилей разных произвродителей
Опрос: Смогли ли диагностировать неисправность? (Кол-во голосов: 161)
Да, лично
Да, с помощью знакомого
Да, у официального дилера
Нет
Чтобы проголосовать, кликните на нужный вариант ответа.Результаты
Расскажите друзьям:
Поставьте рейтинг, для нас это очень важно:
Голосов: 0 чел. Рейтинг: 0 из 5.
-
- Joined:
- Apr 29, 2019
- 4
- 0
- 0
- Location:
- Virginia
- Vehicle:
- 2005 Prius
- Model:
- Base
I just bought a 2005 Prius with a dead HV battery. When I replaced the HV battery I had some trouble codes pop up. P0A08, P0A09 & C1310. I’m thinking if I can correct the P0A codes that the C1310 code should go away too. The car runs just fine but has the red triangle and yellow exclamation point with circle. Also has the warning lights on the display for aux battery and car with exclamation point.
I have already replaced the aux battery, fuseable link harness, inverter converter and water pump. I checked all the fuses. I am at my wit’s end at this point not knowing what else to check. I do k ow that water was getting in to the trunk area but don’t know what that could have effected. My guess at this point is that there is some type of connection that is loose or damaged bit still allowing the car to run and charge just fine.
Any insight would be helpful. Thanks you.
-
- Joined:
- May 11, 2005
- 101,094
- 45,836
- 0
- Location:
- boston
- Vehicle:
- 2012 Prius Plug-in
- Model:
- Plug-in Base
you clear the codes, and they keep coming back?
-
What is the evidence that the car is charging just fine? I am referring to the 12V battery being charged, not the high voltage traction battery.
My guess is that, besides having a failed high voltage battery, this car also had a bad 12V battery and suffered from a botched jumpstart where the battery polarity was reversed. Hence the 100A DC/DC fusible link blew. Further, the DC/DC converter within the inverter was damaged. Am I on the right track?
If I am, and you have replaced the inverter and the fusible link within the main relay/fuse box next to the inverter, then measure voltage across the 12V battery when the Prius is READY. The voltage should be around 13.8VDC. If it is much lower, then either the replacement inverter is not working, you failed to replace the 100A DC/DC fusible link, or you have other wiring harness damage.
-
- Joined:
- Apr 29, 2019
- 4
- 0
- 0
- Location:
- Virginia
- Vehicle:
- 2005 Prius
- Model:
- Base
Yes i cannot clear the codes as they reappear instantly
-
- Joined:
- Apr 29, 2019
- 4
- 0
- 0
- Location:
- Virginia
- Vehicle:
- 2005 Prius
- Model:
- Base
The fusable link I replace was the one directly on the aux battery. I have been driving it around a little bit to see of the aux battery would hold a charge. I get 12.8 volts with nothing on and 13.8 with ready. I have not been driving it alot bit the previous owner said he was able to drive around with no problems. I also checked the fuses under the hood to and all seem to be good.
-
- Joined:
- Apr 29, 2019
- 4
- 0
- 0
- Location:
- Virginia
- Vehicle:
- 2005 Prius
- Model:
- Base
-
- Joined:
- Aug 26, 2019
- 1
- 1
- 0
- Location:
- Helsinki, Finland
- Vehicle:
- 2006 Prius
- Model:
- Business Ed. Plus
Did you get any resolution to this?
I’m having exactly the same problems with my 2nd gen Prius here. I’d love to hear if there was some solution. Thanks!
-
I have a 2008 Prius, same problem. P0A09-591 after resetting codes with TechStream and Dr Prius with car off, once engine is started then it also registers P0A08-264 as well. Just replaced inverter with a known good one, 12V battery is good, all fuses good, replaced fusible link at 12v battery. Battery is 12.5V with car off, 13.9V in ready, checked everything I can think of. Anyone have any thoughts? No other codes than these ones. Car still works fine, just want that code and red triangle gone. Any help would be really appreciated. Thanks
Attached Files:
-
- Joined:
- May 11, 2005
- 101,094
- 45,836
- 0
- Location:
- boston
- Vehicle:
- 2012 Prius Plug-in
- Model:
- Plug-in Base
have you researched the codes in the service manual?
-
- Joined:
- Sep 10, 2020
- 3
- 1
- 0
- Location:
- Arizona
- Vehicle:
- 2008 Prius
- Model:
- II
I just wonder how a mouse got in your car, I assume that is where the wire was, inside. Not sure where the outside air comes in when your ac is set to vent, but I have a silverado and a mouse got in there and died, stupid GM did not put a screen over the the hole so I had to.
-
- Joined:
- Apr 15, 2020
- 3
- 0
- 0
- Location:
- Fiji
- Vehicle:
- 2012 Prius Alpha
- Model:
- N/A
-
- Joined:
- Dec 25, 2020
- 203
- 17
- 0
- Location:
- 80521
- Vehicle:
- 2005 Prius
- Model:
- —-USA—-
What is the significance of that connector having that green corrosion on those pins? And the solution? mine has similar but less severe corrosion.
-
The presence of corrosion of those pins is indicative of a leak originating from the rear of the roof channel. (There are many threads that cover this problem.) You should check under the 12 V battery for standing water too and deal with that. If the plug fails from the corrosion the hybrid vehicle battery cooling fan, which is below it, will stop working and you will get hybrid system errors. You should deal with the leak and rehab the plug and connector if possible.
Администратор
О пользователе
Регистрация: 14.02.2016
Адрес: Москва
Сообщений: 364
Сказал(а) спасибо: 48
Поблагодарили 7 раз(а) в 7 сообщениях
Коды ошибок тоуота приус NHW20
Коды ошибок toyota prius NHW20
AIR BAG RESTRAINT DTCS AIR BAG RESTRAINT DIAGNOSTIC TROUBLE CODE (DTC) IDENTIFICATION DTC Description
B1100 AIR BAG CONTROL UNIT MALFUNCTION
B1610 RIGHT FRONT AIR BAG SENSOR MALFUNCTION
B1615 LEFT FRONT AIR BAG SENSOR MALFUNCTION
B1620 LEFT SIDE AIR BAG SENSOR MALFUNCTION
B1625 RIGHT SIDE AIR BAG SENSOR MALFUNCTION
B1630 LEFT REAR AIR BAG SENSOR MALFUNCTION
B1635 RIGHT REAR AIR BAG SENSOR MALFUNCTION
B1653 SEAT POSITION SENSOR MALFUNCTION
B1655 RIGHT SEAT BELT SWITCH MALFUNCTION
B1800 SHORT IN DRIVER-SIDE AIR BAG MODULE NO. 1 SQUIB CIRCUIT
B1801 OPEN IN DRIVER-SIDE AIR BAG MODULE NO. 1 SQUIB CIRCUIT
B1802 DRIVER-SIDE AIR BAG NO. 1 SQUIB CIRCUIT SHORT TO GROUND
B1803 DRIVER-SIDE SQUIB NO. 1 CIRCUIT SHORT TO BATTERY
B1805 SHORT IN PASSENGER-SIDE AIR BAG NO. 1 SQUIB CIRCUIT
B1806 OPEN IN PASSENGER-SIDE AIR BAG NO. 1 SQUIB CIRCUIT
B1807 SHORT TO GROUND IN PASSENGER-SIDE AIR BAG MODULE NO. 1 SQUIB CIRCUIT
B1808 SHORT TO BATTERY IN PASSENGER-SIDE AIR BAG MODULE NO. 1 SQUIB CIRCUIT
B1810 SHORT IN DRIVER-SIDE AIR BAG MODULE NO. 2 SQUIB CIRCUIT
B1811 OPEN IN DRIVER-SIDE AIR BAG MODULE NO. 2 SQUIB CIRCUIT
B1812 DRIVER-SIDE AIR BAG MODULE NO. 2 SQUIB CIRCUIT SHORT TO GROUND
B1813 DRIVER-SIDE AIR BAG MODULE NO. 2 SQUIB CIRCUIT SHORT TO BATTERY
B1815 SHORT IN PASSENGER-SIDE AIR BAG NO. 2 SQUIB CIRCUIT
B1816 OPEN IN PASSENGER-SIDE AIR BAG NO. 2 SQUIB CIRCUIT
B1817 SHORT TO GROUND IN PASSENGER-SIDE AIR BAG MODULE NO. 2 SQUIB CIRCUIT
B1818 SHORT TO BATTERY IN PASSENGER-SIDE AIR BAG MODULE NO. 2 SQUIB CIRCUIT
B1820 SHORT IN LEFT SIDE AIR BAG MODULE SQUIB CIRCUIT
B1821 OPEN IN LEFT SIDE AIR BAG MODULE SQUIB CIRCUIT
B1823 SHORT TO GROUND IN LEFT SIDE AIR BAG MODULE SQUIB CIRCUIT
B1823 SHORT TO BATTERY IN LEFT SIDE AIR BAG MODULE SQUIB CIRCUIT
B1825 SHORT IN RIGHT SIDE AIR BAG MODULE SQUIB CIRCUIT
B1826 OPEN IN RIGHT SIDE AIR BAG MODULE SQUIB CIRCUIT
B1828 SHORT TO GROUND IN RIGHT SIDE AIR BAG MODULE SQUIB CIRCUIT
B1828 SHORT TO BATTERY IN RIGHT SIDE AIR BAG MODULE SQUIB CIRCUIT
B1830 SHORT IN LEFT SIDE CURTAIN AIR BAG MODULE SQUIB CIRCUIT
B1831 OPEN IN LEFT SIDE CURTAIN AIR BAG MODULE SQUIB CIRCUIT
B1832 SHORT TO GROUND IN LEFT SIDE CURTAIN AIR BAG MODULE SQUIB CIRCUIT
B1833 SHORT TO BATTERY IN LEFT SIDE CURTAIN AIR BAG MODULE SQUIB CIRCUIT
B1835 SHORT IN RIGHT SIDE CURTAIN AIR BAG MODULE SQUIB CIRCUIT
B1836 OPEN IN RIGHT SIDE CURTAIN AIR BAG MODULE SQUIB CIRCUIT
B1837 SHORT TO GROUND IN RIGHT SIDE CURTAIN AIR BAG MODULE SQUIB CIRCUIT
B1838 SHORT TO BATTERY IN RIGHT SIDE CURTAIN AIR BAG MODULE SQUIB CIRCUIT
B1900 SHORT IN LEFT FRONT SEAT BELT PRETENSIONER SQUIB CIRCUIT
B1901 OPEN IN LEFT FRONT SEAT BELT PRETENSIONER SQUIB CIRCUIT
B1902 SHORT TO GROUND IN LEFT FRONT SEAT BELT PRETENSIONER SQUIB CIRCUIT
B1903 SHORT TO BATTERY IN LEFT FRONT SEAT BELT PRETENSIONER SQUIB CIRCUIT
B1905 SHORT IN RIGHT FRONT SEAT BELT PRETENSIONER SQUIB CIRCUIT
B1906 OPEN IN RIGHT FRONT SEAT BELT PRETENSIONER SQUIB CIRCUIT
B1907 SHORT TO GROUND IN RIGHT FRONT SEAT BELT PRETENSIONER SQUIB CIRCUIT
B1908 SHORT TO BATTERY IN RIGHT FRONT SEAT BELT PRETENSIONER SQUIB CIRCUIT AIR CONDITIONING DTCS AIR CONDITIONING DIAGNOSTIC TROUBLE CODE (DTC) IDENTIFICATION DTC Description
B1411 ROOM TEMPERATURE SENSOR CIRCUIT
B1412 AMBIENT TEMPERATURE SENSOR CIRCUIT
B1413 EVAPORATOR TEMPERATURE SENSOR CIRCUIT
B1421 SOLAR SENSOR CIRCUIT (PASSENGER SIDE)
B1423 PRESSURE SWITCH CIRCUIT
B1431 AIR MIX DAMPER POSITION SENSOR CIRCUIT (PASSENGER SIDE)
B1432 AIR INLET DAMPER POSITION SENSOR CIRCUIT
B1433 AIR OUTLET DAMPER POSITION SENSOR CIRCUIT
B1441 AIR MIX DAMPER CONTROL SERVOMOTOR CIRCUIT (PASSENGER SIDE)
B1442 AIR INLET DAMPER CONTROL SERVOMOTOR CIRCUIT
B1443 AIR OUTLET DAMPER CONTROL SERVOMOTOR CIRCUIT
B1462 ROOM HUMIDITY SENSOR CIRCUIT
B1471 A/C INVERTER HIGH VOLTAGE POWER RESOURCE SYSTEM MALFUNCTION
B1472 A/C INVERTER HIGH VOLTAGE OUTPUT SYSTEM MALFUNCTION
B1473 A/C INVERTER START-UP SIGNAL SYSTEM MALFUNCTION
B1475 A/C INVERTER COOLING/HEATING SYSTEM MALFUNCTION
B1476 A/C INVERTER LOAD SYSTEM MALFUNCTION
B1477 A/C INVERTER LOW VOLTAGE POWER RESOURCE SYSTEM MALFUNCTION
B1498 COMMUNICATION MALFUNCTION (A/C INVERTER LOCAL)
P3009-611 HIGH VOLTAGE POWER SHORT CIRCUIT ANTI-LOCK BRAKES DTCS ANTI-LOCK BRAKES DIAGNOSTIC TROUBLE CODE (DTC) IDENTIFICATION DTC Description
C0200/31, C0205/32 RIGHT/LEFT FRONT SPEED SENSOR CIRCUIT
C0210/33, C0215/34 RIGHT/LEFT REAR SPEED SENSOR CIRCUIT
C1202/68 BRAKE FLUID LEVEL LOW
C1203/95 ENGINE CONTROL SYSTEM COMMUNICATION CIRCUIT MALFUNCTION
C1210/36, C1232/32, C1234/34, C1243/43, C1244/44, C1245/45, C1336/39, C1381/97 ZERO POINT CALIBRATION OF YAW RATE SENSOR UNDONE, MALFUNCTION IN DECELERATION SENSOR, MALFUNCTION IN YAW RATE SENSOR & OPEN OR SHORT IN DECELERATION SENSOR CIRCUIT
C1231/31 MALFUNCTION IN STEERING ANGLE SENSOR CIRCUIT
C1235/35, C1236/36, C1238/38, C1239/39 FOREIGN MATTER IS ATTACHED ON TIP OF RIGHT/LEFT FRONT SENSOR
C1241/41, C1242/42 LOW BATTERY POSITIVE VOLTAGE OR ABNORMALLY HIGH BATTERY POSITIVE VOLTAGE & IG2 POWER SOURCE CIRCUIT
C1246/46, C1364/61 MALFUNCTION IN MASTER CYLINDER PRESSURE SENSOR & MALFUNCTION IN W/C PRESSURE SENSOR
C1247/47, C1392/48 MALFUNCTION IN STROKE SENSOR & UN-CORRECTION OF A ZERO POINT OF THE STROKE SENSOR
[B]C1249/49 OPEN CIRCUIT IN STOP LIGHT SWITCH CIRCUIT
C1252/52, C1253/53 BRAKE BOOSTER PUMP MOTOR ON TIME ABNORMALLY LONG & BRAKE BOOSTER PUMP MOTOR CIRCUIT
C1256/57 ACCUMULATOR LOW PRESSURE
C1259/58, C1310/51 HV SYSTEM REGENERATIVE MALFUNCTION & MALFUNCTION IN HV SYSTEM
C1300 MALFUNCTION IN ECU
C1311/11, C1312/12, C1313/13, C1314/14 OPEN/SHORT CIRCUIT IN MAIN RELAY 1 & OPEN/SHORT CIRCUIT IN MAIN RELAY 2
C1315/31, C1316/32, C1352/21, C1353/23, C1354/25, C1355/27, C1356/22, C1357/24, C1358/26, C1359/28 CHANGEOVER SOLENOID MALFUNCTION (SMC1/SMC2), INCREASING PRESSURE SOLENOID MALFUNCTION (FR/FL/RR/RL) & DECREASING PRESSURE SOLENOID MALFUNCTION (FR/FL/RR/RL)
C1319/35 CHANGEOVER SOLENOID MALFUNCTION
C1341/62, C1342/63, C1343/64, C1344/65 MALFUNCTION IN HYDRAULIC SYSTEM (FR/FL/RR/RL)
C1345/66, C1368/67 NOT LEARNING LINEAR VALVE OFF SET ABNORMALITY & LINER VALVE OFFSET MALFUNCTION
C1365/54 MALFUNCTION IN ACC PRESSURE SENSOR
C1377/43 CAPACITOR MALFUNCTION
C1378/44 CAPACITOR COMMUNICATION CIRCUIT MALFUNCTION
C1391/69 ABNORMAL LEAK OF ACC PRESS CRUISE CONTROL DTCS CRUISE CONTROL DIAGNOSTIC TROUBLE CODES (DTC) IDENTIFICATION DTC Description
P0500 VEHICLE SPEED SENSOR «A»
P0571 BRAKE SWITCH «A» CIRCUIT
P0607 CONTROL MODULE PERFORMANCE ENGINE PERFORMANCE DTCS HYBRID CONTROL SYSTEM DTCS HYBRID CONTROL SYSTEM DIAGNOSTIC TROUBLE CODES (DTC) IDENTIFICATION DTC Description
P0336/137 CRANKSHAFT POSITION SENSOR «A» CIRCUIT RANGE/PERFORMANCE
P0338/600 CRANKSHAFT POSITION SENSOR «A» CIRCUIT HIGH INPUT
P0340/532 CAMSHAFT POSITION SENSOR «A» CIRCUIT
P0343/601 CAMSHAFT POSITION SENSOR «A» CIRCUIT HIGH INPUT
P0560/117 SYSTEM VOLTAGE
P0705/5711, P0705/572, P0705/573, P0705/574, P0705/575, P0705/576, P0705/577, P0705/578, P0705/595, P0705/596 TRANSMISSION RANGE SENSOR CIRCUIT
P0851/579 PARK/NEUTRAL SWITCH INPUT CIRCUIT LOW
P0852/580 PARK/NEUTRAL SWITCH INPUT CIRCUIT HIGH
P0A08/264 DC/DC CONVERTER STATUS CIRCUIT
P0A09/265 DC/DC CONVERTER STATUS CIRCUIT LOW INPUT
P0A10/263 DC/DC CONVERTER STATUS CIRCUIT HIGH INPUT
P0A09/591 DC/DC CONVERTER STATUS CIRCUIT LOW INPUT
P0A10/592 DC/DC CONVERTER STATUS CIRCUIT HIGH INPUT
P0A0F/204, P0A0F/205, P0A0F/533, P0A0F/534 ENGINE FAILED TO START
[B]P0A0F/238 ENGINE FAILED TO START
P0A1D/134, P0A1D/135, P0A1D/570 HYBRID POWERTRAIN CONTROL MODULE
P0A1D/139 HYBRID POWERTRAIN CONTROL MODULE
P0A1D/140 HYBRID POWERTRAIN CONTROL MODULE
P0A1D/141 HYBRID POWERTRAIN CONTROL MODULE
P0A1D/142 HYBRID POWERTRAIN CONTROL MODULE
P0A1D/143 HYBRID POWERTRAIN CONTROL MODULE
P0A1D/144, P0A1D/145 HYBRID POWERTRAIN CONTROL MODULE
P0A1D/148, P0A1D/149 HYBRID POWERTRAIN CONTROL MODULE
P0A1D/150, P0A1D/151, P0A1D/152, P0A1P/155, P0A1P/156, P0A1P/158, P0A1P/564 HYBRID POWERTRAIN CONTROL MODULE
P0A1D/159, P0A1D/160 HYBRID POWERTRAIN CONTROL MODULE
P0A1D/163, P0A1D/164, P0A1D/511, P0A1P/512 HYBRID POWERTRAIN CONTROL MODULE
P0A1D/165, P0A1D/168, P0A1D/198, P0A1P/199 HYBRID POWERTRAIN CONTROL MODULE
P0A1D/166, P0A1D/167, P0A1D/197, P0A1P/200 HYBRID POWERTRAIN CONTROL MODULE
P0A1D/177, P0A1D/178, P0A1D/392, P0A1P/567 HYBRID POWERTRAIN CONTROL MODULE
P0A1D/180, P0A1D/181, P0A1D/182, P0A1P/183, P0A1P/184, P0A1P/185, P0A1P/186 HYBRID POWERTRAIN CONTROL MODULE
P0A1D/187 HYBRID POWERTRAIN CONTROL MODULE
P0A1D/188, P0A1D/189, P0A1D/192, P0A1P/193, P0A1P/195, P0A1P/196, P0A1P/565 HYBRID POWERTRAIN CONTROL MODULE
P0A1D/390 HYBRID POWERTRAIN CONTROL MODULE
P0A1D/393 HYBRID POWERTRAIN CONTROL MODULE
P0A1D/568, P0A1D/569 HYBRID POWERTRAIN CONTROL MODULE
P0A1D/615 HYBRID POWERTRAIN CONTROL MODULE
P0A1F/123 BATTERY ENERGY CONTROL MODULE
P0A1F/129 BATTERY ENERGY CONTROL MODULE
P0A1F/593 BATTERY ENERGY CONTROL MODULE
P0A2B/248, P0A2B/250 DRIVE MOTOR «A» TEMPERATURE SENSOR CIRCUIT RANGE/PERFORMANCE
P0A2C/247 DRIVE MOTOR «A» TEMPERATURE SENSOR CIRCUIT LOW
P0A2D/249 DRIVE MOTOR «A» TEMPERATURE SENSOR CIRCUIT HIGH
P0A37/258 GENERATOR TEMPERATURE SENSOR CIRCUIT RANGE/PERFORMANCE
P0A37/260 GENERATOR TEMPERATURE SENSOR CIRCUIT RANGE/PERFORMANCE
P0A38/257 GENERATOR TEMPERATURE SENSOR CIRCUIT LOW
P0A39/259 GENERATOR TEMPERATURE SENSOR CIRCUIT HIGH
P0A3F/243 DRIVE MOTOR «A» POSITION SENSOR CIRCUIT
P0A40/500 DRIVE MOTOR «A» POSITION SENSOR CIRCUIT RANGE/PERFORMANCE
P0A41/245 DRIVE MOTOR «A» POSITION SENSOR CIRCUIT LOW
P0A4B/253 GENERATOR POSITION SENSOR CIRCUIT
P0A4C/513 GENERATOR POSITION SENSOR CIRCUIT RANGE/PERFORMANCE
P0A4D/255 GENERATOR POSITION SENSOR CIRCUIT LOW
P0A51/174 DRIVE MOTOR «A» CURRENT SENSOR CIRCUIT
P0A60/288, P0A60/289, P0A60/290, P0A60/292, P0A60/294, P0A60/501 DRIVE MOTOR «A» PHASE V CURRENT
P0A63/296, P0A63/297, P0A63/298, P0A63/300, P0A63/302, P0A63/502 DRIVE MOTOR «A» PHASE W CURRENT
P0A72/326, P0A72/327, P0A72/328, P0A72/330, P0A72/333, P0A72/515 GENERATOR PHASE V CURRENT
P0A75/334, P0A75/335, P0A75/336, P0A75/338, P0A75/341, P0A75/516 GENERATOR PHASE W CURRENT
P0A78/266, P0A78/267 DRIVE MOTOR «A» INVERTER PERFORMANCE
P0A78/272 DRIVE MOTOR «A» INVERTER PERFORMANCE
P0A78/278, P0A78/280 DRIVE MOTOR «A» INVERTER PERFORMANCE
P0A78/279, P0A78/503, P0A78/504 DRIVE MOTOR «A» INVERTER PERFORMANCE
P0A78/282 DRIVE MOTOR «A» INVERTER PERFORMANCE
P0A78/283, P0A78/285 DRIVE MOTOR «A» INVERTER PERFORMANCE
P0A78/284 DRIVE MOTOR «A» INVERTER PERFORMANCE
P0A78/286 DRIVE MOTOR «A» INVERTER PERFORMANCE
P0A78/287, P0A78/505, P0A78/506 DRIVE MOTOR «A» INVERTER PERFORMANCE
P0A78/304, P0A78/305, P0A78/507 DRIVE MOTOR «A» INVERTER PERFORMANCE
P0A78/306 DRIVE MOTOR «A» INVERTER PERFORMANCE
P0A78/308 DRIVE MOTOR «A» INVERTER PERFORMANCE
P0A78/508 DRIVE MOTOR «A» INVERTER PERFORMANCE
P0A78/510 DRIVE MOTOR «A» INVERTER PERFORMANCE
P0A78/523 DRIVE MOTOR «A» INVERTER PERFORMANCE
P0A78/586 DRIVE MOTOR «A» INVERTER PERFORMANCE
P0A7A/309 GENERATOR INVERTER PERFORMANCE
P0A7A/322 GENERATOR INVERTER PERFORMANCE
P0A7A/324 DTC
P0A7A/324 GENERATOR INVERTER PERFORMANCE
P0A7A/325, P0A7A/517, P0A7A/518 GENERATOR INVERTER PERFORMANCE
P0A7A/342, P0A7A/343, P0A7A/519 GENERATOR INVERTER PERFORMANCE
P0A7A/344 GENERATOR INVERTER PERFORMANCE
P0A7A/520 GENERATOR INVERTER PERFORMANCE
P0A7A/522 GENERATOR INVERTER PERFORMANCE
P0A90/239, P0A9O/241, P0A90/602 DRIVE MOTOR «A» PERFORMANCE
P0A90/240 DRIVE MOTOR «A» PERFORMANCE
P0A90/242 DRIVE MOTOR «A» PERFORMANCE
P0A90/509 DRIVE MOTOR «A» PERFORMANCE
P0A90/604, P0A90/605 DRIVE MOTOR «A» PERFORMANCE
P0A92/606, P0A92/607 HYBRID GENERATOR PERFORMANCE
P0A94/442 DC/DC CONVERTER PERFORMANCE
P0A94/545, P0A94/546 DC/DC CONVERTER PERFORMANCE
P0A94/547, P0A94/548, P0A94/549 DC/DC CONVERTER PERFORMANCE
P0A94/550 DC/DC CONVERTER PERFORMANCE
P0A94/553 DC/DC CONVERTER PERFORMANCE
P0A94/554, P0A94/555, P0A94/556 DC/DC CONVERTER PERFORMANCE
P0A94/557 DC/DC CONVERTER PERFORMANCE
P0A94/558, P0A94/559 DC/DC CONVERTER PERFORMANCE
P0A94/583, P0A94/584 DC/DC CONVERTER PERFORMANCE
P0A94/585 DC/DC CONVERTER PERFORMANCE
P0A94/587 DC/DC CONVERTER PERFORMANCE CIRCUIT DESCRIPTION
P0A94/588 DC/DC CONVERTER PERFORMANCE
P0A94/589, P0A94/590 DC/DC CONVERTER PERFORMANCE
P0AA1/224 HYBRID BATTERY POSITIVE CONTACTOR CIRCUIT STUCK CLOSED
P0AA2/225 HYBRID BATTERY POSITIVE CONTACTOR CIRCUIT STUCK OPEN
P0AA1/226 HYBRID BATTERY POSITIVE CONTACTOR CIRCUIT STUCK CLOSED
P0AA2/227 HYBRID BATTERY POSITIVE CONTACTOR CIRCUIT STUCK OPEN
P0AA1/233 HYBRID BATTERY POSITIVE CONTACTOR CIRCUIT STUCK CLOSED
P0AA4/228 HYBRID BATTERY NEGATIVE CONTACTOR CIRCUIT STUCK CLOSED
P0AA5/229 HYBRID BATTERY NEGATIVE CONTACTOR CIRCUIT STUCK OPEN
P0AA4/232 HYBRID BATTERY NEGATIVE CONTACTOR CIRCUIT STUCK CLOSED
P2120/111 THROTTLE/PEDAL POSITION SENSOR/SWITCH «D» CIRCUIT
P2121/106 THROTTLE/PEDAL POSITION SENSOR/SWITCH «D» CIRCUIT RANGE/PERFORMANCE
P2121/114 THROTTLE/PEDAL POSITION SENSOR/SWITCH «D» CIRCUIT RANGE/PERFORMANCE
P2125/112 THROTTLE/PEDAL POSITION SENSOR/SWITCH «E» CIRCUIT
P2126/109 THROTTLE/PEDAL POSITION SENSOR/SWITCH «E» CIRCUIT RANGE/PERFORMANCE
P2138/110 THROTTLE/PEDAL POSITION SENSOR/SWITCH «D»/»E» VOLTAGE CORRELATION
P2122/1041 THROTTLE/PEDAL POSITION SENSOR/SWITCH «D» CIRCUIT LOW INPUT
P2123/1051 THROTTLE/PEDAL POSITION SENSOR/SWITCH «D» CIRCUIT HIGH INPUT
P2127/1071 THROTTLE/PEDAL POSITION SENSOR/SWITCH «E» CIRCUIT LOW INPUT
P2128/1081 THROTTLE/PEDAL POSITION SENSOR/SWITCH «E» CIRCUIT HIGH INPUT
P3000/123, P3000/125, P3000/603 BATTERY CONTROL SYSTEM MALFUNCTION
P3000/388 BATTERY CONTROL SYSTEM MALFUNCTION
P3000/389 BATTERY CONTROL SYSTEM MALFUNCTION
P3009/526, P3009/6111, P3009/612, P3009/613, P3009/614 HIGH VOLTAGE POWER SHORT CIRCUIT
P3102/524, P3102/525, P3102/581, P3102/582, P3102/597, P3102/598, P3102/599 TRANSMISSION CONTROL ECU MALFUNCTION
P3107/213, P3107/214, P3107/215 LOST COMMUNICATION WITH AIRBAG SYSTEM CONTROL MODULE
P3108/535, P3108/536, P3108/538 LOST COMMUNICATION WITH A/C SYSTEM CONTROL MODULE
P3108/537 LOST COMMUNICATION WITH A/C SYSTEM CONTROL MODULE
P3108/594 LOST COMMUNICATION WITH A/C SYSTEM CONTROL MODULE
P3110/223, P3110/527 HV MAIN RELAY MALFUNCTION
P3137/348 COLLISION SENSOR LOW INPUT
P3138/349 COLLISION SENSOR HIGH INPUT
P3140/350 HV INTERLOCK SWITCH OPERATION
P3143/351 HV INTERLOCK SWITCH OPEN/SHORT
P3211/276, P3211/277 DRIVE MOTOR «A» INVERTER TEMPERATURE SENSOR CIRCUIT RANGE/PERFORMANCE
P3212/275, P3213/274 DRIVE MOTOR «A» INVERTER TEMPERATURE SENSOR CIRCUIT HIGH/LOW
P3221/314, P3221/315 GENERATOR INVERTER TEMPERATURE SENSOR CIRCUIT RANGE/PERFORMANCE
P3222/313 GENERATOR INVERTER TEMPERATURE SENSOR CIRCUIT HIGH/LOW
P3223/312 GENERATOR INVERTER TEMPERATURE SENSOR CIRCUIT HIGH
P3226/562 DC/DC (BOOST) CONVERTER TEMPERATURE SENSOR MALFUNCTION
P3226/563 DC/DC (BOOST) CONVERTER TEMPERATURE SENSOR MALFUNCTION
U0100/211 LOST COMMUNICATION WITH ECM/PCM «A»
U0100/212 LOST COMMUNICATION WITH ECM/PCM «A»
U0100/530 LOST COMMUNICATION WITH ECM/PCM «A»
U0111/208 LOST COMMUNICATION WITH BATTERY ENERGY CONTROL MODULE «A»
U0111/531 LOST COMMUNICATION WITH BATTERY ENERGY CONTROL MODULE «A»
U0129/220 LOST COMMUNICATION WITH BRAKE SYSTEM CONTROL MODULE
U0129/222 LOST COMMUNICATION WITH BRAKE SYSTEM CONTROL MODULE
U0129/528 LOST COMMUNICATION WITH BRAKE SYSTEM CONTROL MODULE
U0129/529 LOST COMMUNICATION WITH BRAKE SYSTEM CONTROL MODULE
U0131/433 LOST COMMUNICATION WITH POWER STEERING CONTROL MODULE
U0131/434 LOST COMMUNICATION WITH POWER STEERING CONTROL MODULE
U0146/435 LOST COMMUNICATION WITH GATEWAY «A» SFI SYSTEM DTCS SFI SYSTEM DIAGNOSTIC TROUBLE CODE (DTC) IDENTIFICATION DTC Description
P0010 CAMSHAFT POSITION «A» ACTUATOR CIRCUIT (BANK 1)
P0011 CAMSHAFT POSITION «A» -TIMING OVERADVANCED OR SYSTEM PERFORMANCE (BANK1)
P0012 CAMSHAFT POSITION «A» -TIMING OVERRETARDED (BANK 1)
P0016 CRANKSHAFT POSITION — CAMSHAFT POSITION CORRELATION (BANK 1 SENSOR A)
P0031 OXYGEN (A/F) SENSOR HEATER CONTROL CIRCUIT LOW (BANK 1 SENSOR 1)
P0032 OXYGEN (A/F) SENSOR HEATER CONTROL CIRCUIT HIGH (BANK 1 SENSOR 1)
P0037 OXYGEN SENSOR HEATER CONTROL CIRCUIT LOW (BANK 1 SENSOR 2)
P0038 OXYGEN SENSOR HEATER CONTROL CIRCUIT HIGH (BANK 1 SENSOR 2)
P0100 MASS OR VOLUME AIR FLOW CIRCUIT
P0101 MASS OR VOLUME AIR FLOW CIRCUIT RANGE/PERFORMANCE PROBLEM
P0102 MASS OR VOLUME AIR FLOW CIRCUIT LOW INPUT
P0103 MASS OR VOLUME AIR FLOW CIRCUIT HIGH INPUT
P0110 INTAKE AIR TEMPERATURE CIRCUIT
P0112 INTAKE AIR TEMPERATURE CIRCUIT LOW INPUT
P0113 INTAKE AIR TEMPERATURE CIRCUIT HIGH INPUT
P0115 ENGINE COOLANT TEMPERATURE CIRCUIT
P0117 ENGINE COOLANT TEMPERATURE CIRCUIT LOW INPUTT
P0118 ENGINE COOLANT TEMPERATURE CIRCUIT HIGH INPUT
P0116 ENGINE COOLANT TEMPERATURE CIRCUIT RANGE/PERFORMANCE PROBLEM
P0120 THROTTLE/PEDAL POSITION SENSOR/SWITCH «A» CIRCUIT
P0121 THROTTLE/PEDAL POSITION SENSOR/SWITCH «A» CIRCUIT RANGE/PERFORMANCE PROBLEM
P0122 THROTTLE/PEDAL POSITION SENSOR/SWITCH «A» CIRCUIT LOW INPUT
P0123 THROTTLE/PEDAL POSITION SENSOR/SWITCH «A» CIRCUIT HIGH INPUT
P0125 INSUFFICIENT COOLANT TEMPERATURE FOR CLOSED LOOP FUEL CONTROL
P0128 COOLANT THERMOSTAT (COOLANT TEMPERATURE BELOW THERMOSTAT REGULATING TEMPERATURE)
P0136 OXYGEN SENSOR CIRCUIT MALFUNCTION (BANK 1 SENSOR 2)
P0137 OXYGEN SENSOR CIRCUIT LOW VOLTAGE (BANK 1 SENSOR 2)
P0138 OXYGEN SENSOR CIRCUIT HIGH VOLTAGE (BANK 1 SENSOR 2)
P0171 SYSTEM TOO LEAN (BANK 1)
P0172 SYSTEM TOO RICH (BANK 1)
P0220 THROTTLE/PEDAL POSITION SENSOR/SWITCH «B» CIRCUIT
P0222 THROTTLE/PEDAL POSITION SENSOR/SWITCH «B» CIRCUIT LOW INPUT
P0223 THROTTLE/PEDAL POSITION SENSOR/SWITCH «B» CIRCUIT HIGH INPUT
P0300 RANDOM/MULTIPLE CYLINDER MISFIRE DETECTED
P0301 CYLINDER 1 MISFIRE DETECTED
P0302 CYLINDER 2 MISFIRE DETECTED
P0303 CYLINDER 3 MISFIRE DETECTED
P0304 CYLINDER 4 MISFIRE DETECTED
P0325 KNOCK SENSOR 1 CIRCUIT (BANK 1 OR SINGLE SENSOR)
P0327 KNOCK SENSOR 1 CIRCUIT LOW INPUT (BANK 1 OR SINGLE SENSOR)
P0328 KNOCK SENSOR 1 CIRCUIT HIGH INPUT (BANK 1 OR SINGLE SENSOR)
P0335 CRANKSHAFT POSITION SENSOR «A» CIRCUIT
P0340 CAMSHAFT POSITION SENSOR «A» CIRCUIT (BANK 1 OR SINGLE SENSOR)
P0341 CAMSHAFT POSITION SENSOR «A» CIRCUIT RANGE/PERFORMANCE (BANK 1 OR SINGLE SENSOR)
P0351 IGNITION COIL «A» PRIMARY/SECONDARY CIRCUIT
P0352 IGNITION COIL «B» PRIMARY/SECONDARY CIRCUIT
P0353 IGNITION COIL «C» PRIMARY/SECONDARY CIRCUIT
P0354 IGNITION COIL «D» PRIMARY/SECONDARY CIRCUIT
P0420 CATALYST SYSTEM EFFICIENCY BELOW THRESHOLD (BANK 1)
P0441 EVAPORATIVE EMISSION CONTROL SYSTEM INCORRECT PURGE FLOW
P0442 EVAPORATIVE EMISSION CONTROL SYSTEM LEAK DETECTED (SMALL LEAK)
P0446 EVAPORATIVE EMISSION CONTROL SYSTEM VENT CONTROL CIRCUIT
P0451 EVAPORATIVE EMISSION CONTROL SYSTEM PRESSURE SENSOR/SWITCH RANGE/PERFORMANCE
P0452 EVAPORATIVE EMISSION CONTROL SYSTEM PRESSURE SENSOR/SWITCH LOW INPUT
P0453 EVAPORATIVE EMISSION CONTROL SYSTEM PRESSURE SENSOR/SWITCH HIGH INPUT
P0455 EVAPORATIVE EMISSION CONTROL SYSTEM LEAK DETECTED (GROSS LEAK)
P0456 EVAPORATIVE EMISSION CONTROL SYSTEM LEAK DETECTED (VERY SMALL LEAK)
P0505 IDLE AIR CONTROL SYSTEM
P0560 SYSTEM VOLTAGE
P0604 INTERNAL CONTROL MODULE RANDOM ACCESS MEMORY (RAM) ERROR
P0606 ECM/PCM PROCESSOR
P0607 CONTROL MODULE PERFORMANCE
P0657 ACTUATOR SUPPLY VOLTAGE CIRCUIT/OPEN
P1115 COOLANT TEMPERATURE SENSOR CIRCUIT FOR COOLANT HEAT STORAGE SYSTEM
P1116 COOLANT TEMPERATURE SENSOR CIRCUIT STACK FOR COOLANT HEAT STORAGE SYSTEM
P1117 COOLANT TEMPERATURE SENSOR CIRCUIT LOW FOR COOLANT HEAT STORAGE SYSTEM
P1118 COOLANT TEMPERATURE SENSOR CIRCUIT HIGH FOR COOLANT HEAT STORAGE SYSTEM
P1120 COOLANT FLOW CONTROL VALVE POSITION SENSOR CIRCUIT
P1121 COOLANT FLOW CONTROL VALVE POSITION SENSOR CIRCUIT STUCK
P1122 COOLANT FLOW CONTROL VALVE POSITION SENSOR CIRCUIT LOW
P1123 COOLANT FLOW CONTROL VALVE POSITION SENSOR CIRCUIT HIGH
P1150 COOLANT PATH CLOG UP FOR COOLANT HEAT STORAGE SYSTEM
P1151 COOLANT HEAT STORAGE TANK
P1455 VAPOR REDUCING FUEL TANK SYSTEM MALFUNCTION
P2102 THROTTLE ACTUATOR CONTROL MOTOR CIRCUIT LOW
P2103 THROTTLE ACTUATOR CONTROL MOTOR CIRCUIT HIGH
P2111 THROTTLE ACTUATOR CONTROL SYSTEM — STUCK OPEN
P2112 THROTTLE ACTUATOR CONTROL SYSTEM — STUCK CLOSED
P2118 THROTTLE ACTUATOR CONTROL MOTOR CURRENT RANGE/PERFORMANCE
P2119 THROTTLE ACTUATOR CONTROL THROTTLE BODY RANGE/PERFORMANCE
P2135 THROTTLE/PEDAL POSITION SENSOR/SWITCH «A»/»B» VOLTAGE CORRELATION
P2195 OXYGEN (A/F) SENSOR SIGNAL STUCK LEAN (BANK 1 SENSOR 1)
P2196 OXYGEN (A/F) SENSOR SIGNAL STUCK RICH (BANK 1 SENSOR 1)
P2238 OXYGEN SENSOR PUMPING CURRENT CIRCUIT LOW (FOR A/F SENSOR) (BANK 1 SENSOR 1)
P2239 OXYGEN SENSOR PUMPING CURRENT CIRCUIT HIGH (FOR A/F SENSOR) (BANK 1 SENSOR 1)
P2252 OXYGEN SENSOR REFERENCE GROUND CIRCUIT LOW (FOR A/F SENSOR) (BANK 1 SENSOR 1)
P2253 OXYGEN SENSOR REFERENCE GROUND CIRCUIT HIGH (FOR A/F SENSOR) (BANK 1 SENSOR 1)
P2601 COOLANT PUMP CONTROL CIRCUIT RANGE/PERFORMANCE
P2610 ECM/PCM INTERNAL ENGINE OFF TIMER PERFORMANCE
P2A00 A/F SENSOR CIRCUIT SLOW RESPONSE (BANK1 SENSOR 1)
P3190 POOR ENGINE POWER
P3191 ENGINE DOES NOT START
P3193 FUEL RUN OUT HYBRID BATTERY SYSTEM DTCS HYBRID BATTERY SYSTEM DIAGNOSTIC TROUBLE CODES (DTC) IDENTIFICATION DTC
Description
P0560 SYSTEM VOLTAGE
P0A1F BATTERY ENERGY CONTROL MODULE
P0A7F HYBRID BATTERY PACK DETERIORATION
P0A80 REPLACE HYBRID BATTERY PACK
P0A81 HYBRID BATTERY PACK COOLING FAN 1
P0A82 HYBRID BATTERY PACK COOLING FAN 1
P0A85 HYBRID BATTERY PACK COOLING FAN 1
P0A95 HIGH VOLTAGE FUSE
P0A9B HYBRID BATTERY TEMPERATURE SENSOR CIRCUIT
P0AAC HYBRID BATTERY PACK AIR TEMPERATURE SENSOR «A» CIRCUIT
P3011, P3012, P3013, P3014, P3015, P3016, P3017, P3018, P3019, P3020, P3021, P3022, P3023, P3024 BATTERY BLOCK 1-14 BECOMES WEAK
P3030 DISCONNECTION BETWEEN BATTERY AND ECU
P3056 BATTERY CURRENT SENSOR CIRCUIT MALFUNCTION
U0100 LOST COMMUNICATION WITH ECM/PCM «A»
U0293 LOST COMMUNICATION WITH HYBRID VEHICLE CONTROL SYSTEM LIGHTING SYSTEM DTCS LIGHTING SYSTEM DIAGNOSTIC TROUBLE CODES (DTC) IDENTIFICATION DTC Description
B1244 LIGHT SENSOR CIRCUIT MALFUNCTION MULTIPLEX CONTROL SYSTEMS DTCS MULTIPLEX CONTROL SYSTEMS DIAGNOSTIC TROUBLE CODES (DTC) IDENTIFICATION DTC Description
B1200 BODY ECU COMMUNICATION STOP
B1207 SMART ECU COMMUNICATION STOP
B1210 POWER SOURCE CONTROL ECU COMMUNICATION STOP
B1214, B1215 DOOR SYSTEM COMMUNICATION BUS MALFUNCTION (+B SHORT/GND SHORT)
B1248 AVC-LAN COMMUNICATION IMPOSSIBLE
B1260 TRANSMISSION CONTROL ECU COMMUNICATION STOP
B1262 A/C ECU COMMUNICATION STOP
B1271 COMBINATION METER ECU COMMUNICATION STOP
B1294 IMMOBILIZER ECU COMMUNICATION STOP POWER STEERING DTCS POWER STEERING DIAGNOSTIC TROUBLE CODES (DTC) IDENTIFICATION DTC
Description
C1511, C1512, C1513, C1514, C1517 Torque sensor malfunction
C1524 Motor malfunction
C1531, C1532 Power steering ECU malfunction
C1533 Temperature sensor malfunction in power steering ECU
C1551 IG power source voltage error
C1552 PIG power source voltage error
C1554 Power source relay malfunction
C1555 Motor relay malfunction
U0073 CAN bus malfunction
U0121 ABS (ECB) ECU communication error PUSH BUTTON START SYSTEM DTCS PUSH BUTTON START SYSTEM DIAGNOSTIC TROUBLE CODE (DTC) IDENTIFICATION DTC
Description
B2271 IGNITION HOLD MONITOR MALFUNCTION
B2272 IGNITION 1 MONITOR MALFUNCTION
B2273 IGNITION 2 MONITOR MALFUNCTION
B2274 ACC MONITOR MALFUNCTION
B2275 STSW MONITOR MALFUNCTION
B2277 DETECTING VEHICLE SUBMERSION
B2278 MAIN SWITCH (POWER SWITCH) MALFUNCTION
B2281 P SIGNAL MALFUNCTION (CABLE-INFORMATION DOES NOT MATCH TO BEAN-INFORMATION)
B2282 VEHICLE SPEED SIGNAL MALFUNCTION (CABLE-INFORMATION DOES NOT MATCH TO BEAN-INFORMATION)
B2284 BRAKE SIGNAL MALFUNCTION (CABLE-INFORMATION DOES NOT MATCH TO BEAN-INFORMATION)
[B]B2286 READY SIGNAL MALFUNCTION
B2287, B2289 LIN COMMUNICATION MASTER MALFUNCTION, KEY COLLATION WAITING TIME OVER TRANSMISSION (SHIFT CONTROL SYSTEM) DTCS AUTOMATIC TRANSMISSION DIAGNOSTIC TROUBLE CODES (DTC) IDENTIFICATION DTC
Description
C2300 ACT SYSTEM MALFUNCTION
C2301 SHIFT CHANGING TIME MALFUNCTION
C2303 RELAY MALFUNCTION (+B SHORT)
C2304 OPEN OR SHORT CIRCUIT IN U PHASE
C2305 OPEN OR SHORT CIRCUIT IN V PHASE
C2306 OPEN OR SHORT CIRCUIT IN W PHASE
C2307 POWER SOURCE MALFUNCTION
C2310 OPEN OR SHORT CIRCUIT IN BATT
C2311 HV COMMUNICATION LINE MALFUNCTION
C2312 POWER SOURCE CONTROL ECU COMMUNICATION LINE MALFUNCTION
C2315 HV SYSTEM MALFUNCTION
C2318 LOW VOLTAGE ERROR (POWER SUPPLY MALFUNCTION)0
__________________
ремонт приус
сервис приус 8(926)816-2670 запчасти приус 8(926)816-2670
кузовной ремонт покраска автомобиля, сервис приус
Скупой платит дважды, дурак трижды, лох по жизни!
У тебя есть Toyota Prius или может ты хочешь ее приобрести? Зарегистрируйся, мы всегда рады новичкам! Пройди по ссылке Toyota Prius Club
Toyota Prius 2001 NHW10 — продан
Toyota Prius 2008 NHW20 — продан
Toyota Prius 2011 ZVW30 — катаюсь
Гибридная установка автомобиля сложна и запутана для понимания рядовым пользователем. По этой причине, коды ошибок Toyota Prius многочисленны, что дополнительно усложняет процедуру поиска проблемы и ремонта.
Содержание
- 1 Toyota Prius: расшифровка ошибок
- 1.1 C1310: ошибка Приус
- 1.2 С 1378 — неисправность Приус 20
- 1.3 C1344 — поломка Prius
- 1.4 Prius: ошибка C1391
- 1.5 Приус 10: ошибка С2544
- 1.6 Prius: неисправность C2600
- 1.7 B126A — код Prius
- 1.8 Приус 20: неисправность U0100
- 1.9 U029a — поломка Приуса
- 1.10 U0293 — поломка
- 1.11 P0A0D: код неисправности Prius
- 1.12 P0A0F — код Prius
- 1.13 Поломка Приус 30: P0A7F
- 1.14 Приус: поломка P0AA6
- 1.15 Ошибка Приус 30: P0A01
- 1.16 P0A08 — поломка Приус
- 1.17 P0A09 — код
- 1.18 P0A37 — неисправность Prius 20
- 1.19 Приус 30: ошибка Р0А40 и Р0А41
- 1.20 P0A80 — ошибка Prius
- 1.21 Ошибка P0A93
- 1.22 Ошибка Р0137: Приус 20
- 1.23 P0420 — ошибка
- 1.24 Ошибка Prius 30: P0852
- 1.25 Приус 20: поломка P1116
- 1.26 Prius: ошибка P1121
- 1.27 Ошибка P181B: Prius 30
- 1.28 P3000 — ошибка Prius 11
- 1.29 P3102 — ошибка
- 1.30 P3004 131 — ошибка Приус 30
- 1.31 P3107 — неисправность Prius
- 1.32 P3190 — поломка
- 1.33 P3191 — код Prius
- 1.34 Ошибка VSC: Prius 20
- 1.35 Приус 20 — неисправность: переход в режим EV теперь недействителен
- 1.36 Приус 30 — ошибка: проверка гибридной системы
- 1.37 Prius 20: неисправность P/S
- 1.38 Приус 20: поломка HV
- 2 Как сбросить ошибки на Приусе
- 3 Итог
Далее приведены распространенные неисправности и проблемы, возникающие во время эксплуатации автомобиля.
Toyota Prius: расшифровка ошибок
Большинство кодов автомобиля выводятся на дисплее бортового компьютера. При этом, шифры самодиагностики недостаточно информативны для полноценного ремонта или обслуживания машины.
Чтобы получить более подробное описание на русском языке, следует подключить диагностический сканер. Прибор и покажет полноценный список неисправностей.
C1310: ошибка Приус
Проблема говорит, что рекуператор тормозной системы глючит. Отправляйтесь на диагностику – способность подзарядки тяговой АКБ снижена.
С 1378 — неисправность Приус 20
Поломка магистрали питания конденсатора. Обычно причина находится в отсутствии связи с модулем АБС.
C1344 — поломка Prius
Ошибка АБС. Имеется потеря давления в заднем левом колесе. Остановитесь и подкачайте покрышку. Может сбоить сенсор, что особенно актуально при езде по разбитым дорогам.
Prius: ошибка C1391
Снижена эффективность торможения. В системе присутствует потеря герметичности или неисправен усилитель. Для устранения проблемы полностью «прочешите» магистраль.
Приус 10: ошибка С2544
Быстрый разряд элемента питания ВВБ. Модуль требуется продиагностировать на наличие утечки тока.
Prius: неисправность C2600
Бортовой компьютер обнаружил потерю связи в гибридной установке. Обычно проблема заключается в перегорании предохранителей.
B126A — код Prius
Модуль блокировки двигателя работает неправильно. Выполните диагностику сети.
Приус 20: неисправность U0100
Потеря связи между блоком ДВС и электромотором. Система глючит.
U029a — поломка Приуса
Имеются окисления или повреждение контактов батареи. Помогает очистка элементов за крышкой возле педали газа.
U0293 — поломка
Потеря связи ВВБ с модулем управления гибридной установкой. Система нуждается в срочной диагностике.
P0A0D: код неисправности Prius
Ошибка ВВБ указывает на потерю контакта с модулем управления. Причиной может стать нарушение контрольной цепи устройства.
P0A0F — код Prius
Проблема – двигатель не завелся. При возникновении подобной ошибки обратитесь к квалифицированному мастеру. Неисправность связана с более весомыми неприятностями.
Поломка Приус 30: P0A7F
Типичная проблема для машин с пробегом. Указывает на критическую потерю емкости тяговой батареи. Элементы питания проблематично реанимировать и обычно их меняют на новые ячейки.
Приус: поломка P0AA6
Проблема находится в инверторе и наличии влаги. Элементы конструкции требуется диагностировать на предмет повреждений.
Ошибка Приус 30: P0A01
ДТОЖ конвертора напряжения вышел из строя или передает неправильные данные. Нужно проверить сенсор и его проводку на наличие повреждений.
P0A08 — поломка Приус
Аккумуляторная батарея АКБ износилась или повреждена.
P0A09 — код
Инвертор напряжение не активируется или работает неправильно. Необходимо проверить состояние контактов или силовых магистралей.
P0A37 — неисправность Prius 20
Поломка цепи датчика температуры электродвигателя. Тщательно осмотрите систему на наличие повреждений и протестируйте датчик.
Приус 30: ошибка Р0А40 и Р0А41
Потеря связи с элементами коробки передач. Все решается проверкой и переделкой магистралей.
P0A80 — ошибка Prius
Блок управления трансмиссией обнаружил проблему на участке гибридного БУ аккумуляторами машины. Лечится только полной диагностикой.
Ошибка P0A93
Поломка помпы гибридной установки. Устройство не пригодно к ремонту, модуль следует менять целиком.
Ошибка Р0137: Приус 20
Слишком низкое напряжение ДК1. В выхлопе присутствует слишком много кислорода. Обычно поломка связана с ухудшением контактов проводки или окислением сенсора.
P0420 — ошибка
Эффективность катализатора ниже минимального порога. Проблема актуальна для машин с большим пробегом или авто, ездящих на низкосортном топливе. В этой ситуации ставят обманку или меняют банку нейтрализатора.
Ошибка Prius 30: P0852
Подобную проблему обычно выдают датчики тормозной системы. Часто ошибки связаны с намоканием проводки или окислением контактов.
Приус 20: поломка P1116
ДТОЖ передает неправильные данные или вышел из строя. Сенсор меняют на заведомо исправный.
Prius: ошибка P1121
Реостат системы охлаждения двигателя проверяют на наличие повреждений. Клапан заело в одном положении.
Ошибка P181B: Prius 30
Ошибка гибридной установки. Проведите диагностику сетей и магистралей.
P3000 — ошибка Prius 11
Слишком низкий уровень заряда высоковольтной батареи. Долейте топливо в бак или перезагрузите БК.
P3102 — ошибка
Неисправность гибридной системы. Требуется более подробная диагностика автомобиля.
P3004 131 — ошибка Приус 30
Инвертор напряжение глючит. Замените поврежденный узел.
P3107 — неисправность Prius
Потеряна связь с подушками безопасности. Проблема находится в программном глюке оборудования – перезапуск системы должен помочь. Если ошибка не уходит — выполните полную проверку цепи.
P3190 — поломка
В топливной системе автомобиля обнаружены серьезные проблемы. Тщательно проверьте узлы, отвечающие за подачу бензина в камеру сгорания.
Проблема может указывать на неполадки зажигания смеси.
P3191 — код Prius
Запуск силовой установки затруднен. Требуется очистка дроссельной заслонки и диагностика системы зажигания.
Ошибка VSC: Prius 20
Ошибки модуля указывают, что система стабилизации авто работает неправильно или перестала откликаться на команды. Требуется детальная диагностика, при которой может появиться несколько проблем. Неприятности связаны с датчиками или поврежденной проводкой.
Приус 20 — неисправность: переход в режим EV теперь недействителен
Если с автомобилем технически проблем нет, система самостоятельно отключается при появлении следующих факторов:
- критически снизился заряд высоковольтной батареи;
- силовой АКБ перегрелся;
- превышена допустимая скорость передвижения на электротяге.
Если условия соблюдены, ищите проблему в ПО и датчиках, контролирующих работу авто в данном режиме.
Приус 30 — ошибка: проверка гибридной системы
Причинами подобных поломок наиболее часто выступают факторы.
- Износ или повреждение датчиков.
- Неполадки в проводке автомобиля.
- Проблемы с ДВС или ВВС.
Prius 20: неисправность P/S
Типичная поломка для авто, бывавших в ДТП или после замены рулевой рейки. Чувствительный ЭУР легко повредить ударами или сильной вибрацией, что также не исключено при езде по «уваленным» дорогам. Также некоторые водители сталкивались с проблемой по причине износа дорожек электроусилителя.
Приус 20: поломка HV
Модуль гибридной системы работает неправильно. Требуется более тщательная диагностика и определение конкретной ошибки. Проблема связана с повреждением проводки высоковольтной батареи.
Как сбросить ошибки на Приусе
Здесь есть несколько вариантов развития событий.
- Сброс скрепкой
Для этого потребуется закоротить контакты диагностического разъема, как показано на фото ниже.
Далее нужно включить зажигание и в течение 3 секунд быстро нажать педаль тормоза 8 раз подряд. После этого ошибки обнулятся.
- Подразумевает подключение диагностического сканера и последующий сброс при помощи стороннего оборудования. Здесь все также просто. Нужно присоединить модуль к машине и следовать инструкции изготовителя.
Также перезагрузить систему можно, отключив питание от низковольтной батареи на 10 минут. При этом, БК будет сброшен до «чистого» состояния.
Итог
Считать коды поломок Приуса недостаточно. Требуется устранить причины их появления, что проблематично для неподготовленного пользователя. При наличии дефектов рекомендуется обратиться к квалифицированному мастеру.
Специализация: Закончил государственный автомобильный университет, проработал 20 лет на ГАЗ-56, сейчас езжу на жигулях.
DTC
P0A09-591 DC / DC Converter Status Circuit Low Input
for Preparation Click here
DESCRIPTION
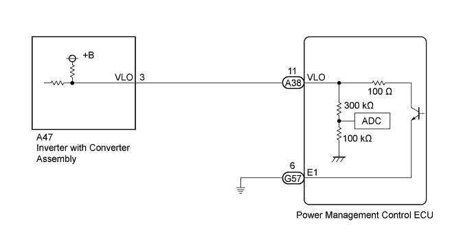
The DC/DC converter varies output voltage based on voltage change signals (VLO signal line) received from the power management control ECU.
If the vehicle is being driven with an inoperative DC/DC converter, the voltage of the auxiliary battery will drop, which will prevent the continued operation of the vehicle. Therefore, the power management control ECU monitors the operation of the DC/DC converter and alerts the driver if it detects a malfunction.
| DTC No. | INF Code | DTC Detection Condition | Trouble Area |
| P0A09 | 591 | Open or short to ground in the signal line of DC/DC converter (VLO) (1 trip detection logic) |
|
WIRING DIAGRAM
INSPECTION PROCEDURE
- CAUTION:
- Before inspecting the high-voltage system or disconnecting the low voltage connector of the inverter with converter assembly, take safety precautions such as wearing insulated gloves and removing the service plug grip to prevent electrical shocks. After removing the service plug grip, put it in your pocket to prevent other technicians from accidentally reconnecting it while you are working on the high-voltage system.
- After removing the service plug grip, wait for at least 10 minutes before touching any of the high-voltage connectors or terminals. After waiting for 10 minutes, check the voltage at the terminals in the inspection point in the inverter with converter assembly. The voltage should be 0 V before beginning work (Click here).
- HINT:
- Waiting for at least 10 minutes is required to discharge the high-voltage capacitor inside the inverter with converter assembly.
- NOTICE:
- After turning the ignition switch off, waiting time may be required before disconnecting the cable from the negative (-) auxiliary battery terminal. Therefore, make sure to read the disconnecting the cable from the negative (-) auxiliary battery terminal notices before proceeding with work (Click here).
- HINT:
- After the repair, clear the DTCs and perform the following procedure to check that DTCs are not output.
- Turn the ignition switch to ON (IG) and wait for 10 seconds or more.
1.CHECK CONNECTOR CONNECTION CONDITION (POWER MANAGEMENT CONTROL ECU CONNECTOR)
-
Check the connector connections and contact pressure of the relevant terminals for the power management control ECU connectors (Click here).
- OK:
- The connectors are connected securely and there are no contact pressure problems.
|
||||
| OK | |
2.CHECK CONNECTOR CONNECTION CONDITION (INVERTER WITH CONVERTER ASSEMBLY CONNECTOR)
- CAUTION:
- Be sure to wear insulated gloves.
-
Check that the service plug grip is not installed.
- NOTICE:
- After removing the service plug grip, do not turn the ignition switch to ON (READY), unless instructed by the repair manual because this may cause a malfunction.
-
Check the connector connections and contact pressure of the low voltage connectors of the inverter with converter assembly (Click here).
- NOTICE:
- Before disconnecting the connector, confirm that it is properly connected by checking that the locking claws are engaged and that the connector does not pull out.
- OK:
- The connectors are connected securely and there are no contact pressure problems.
- HINT:
- When connecting the connector, insert it with the locking lever in the raised position. Rotate the lever downward and make sure that the connector is pulled into its socket. When the locking lever is in its fully closed position, a click will be heard as its locking claws engage. After the click is heard, pull up on the connector to confirm that it is properly connected.
|
||||
| OK | |
3.CHECK POWER MANAGEMENT CONTROL ECU (CHECK WAVEFORM)
-
Connect an oscilloscope between the power management control ECU terminals specified in the table below.
-
Turn the ignition switch to ON (IG).
-
Measure the waveform.
Item Content Terminal A38-11 (VLO) — G57-6 (E1) Equipment Setting 5 V/DIV., 50 ms/DIV. Condition Ignition switch ON (IG) Text in Illustration
*a Component with harness connected
(Power Management Control ECU)- OK:
- The waveform appears as shown in the illustration.
- HINT:
- Perform this inspection with the power management control ECU connector connected.
- The waveform varies depending on the specified DC/DC converter voltage.
-
Turn the ignition switch off.
|
||||
| OK | |
-
Connect the Techstream to the DLC3.
-
Turn the ignition switch to ON (IG).
-
Enter the following menus: Powertrain / Hybrid Control / Trouble Codes.
-
Read and record the DTCs and freeze frame data.
-
Clear DTCs and freeze frame data.
-
Turn the ignition switch off.
| NEXT | |
5.CHECK DTC OUTPUT (HYBRID CONTROL)
-
Connect the Techstream to the DLC3.
-
Turn the ignition switch to ON (READY).
-
Enter the following menus: Powertrain / Hybrid Control / Trouble Codes.
-
Check if DTCs are output.
- Result:
-
Result Proceed to P0A09-591 is not output. A P0A09-591 is output again. B
-
Turn the ignition switch off.
|
||||
| A | |
6.CHECK HARNESS AND CONNECTOR (RESISTANCE VALUE OF VLO INSIDE POWER MANAGEMENT CONTROL ECU)
- CAUTION:
- Be sure to wear insulated gloves.
-
Check that the service plug grip is not installed.
- NOTICE:
- After removing the service plug grip, do not turn the ignition switch to ON (READY), unless instructed by the repair manual because this may cause a malfunction.
-
Disconnect connector A47 from the inverter with converter assembly.
-
Measure the resistance according to the value(s) in the table below.
- Standard Resistance:
-
Tester Connection Switch Condition Specified Condition A47-3 (VLO) — Body ground Ignition switch off 370 to 430 kΩ
Text in Illustration
*a Front view of wire harness connector
(to Inverter with Converter Assembly)
-
Connect the inverter with converter assembly connector.
|
||||
| OK | |
|
REPLACE INVERTER WITH CONVERTER ASSEMBLY (Click here) |
7.CHECK HARNESS AND CONNECTOR (INVERTER WITH CONVERTER ASSEMBLY — POWER MANAGEMENT CONTROL ECU)
- CAUTION:
- Be sure to wear insulated gloves.
-
Check that the service plug grip is not installed.
- NOTICE:
- After removing the service plug grip, do not turn the ignition switch to ON (READY), unless instructed by the repair manual because this may cause a malfunction.
-
Disconnect connector A47 from the inverter with converter assembly.
-
Disconnect connector A38 from the power management control ECU.
-
Measure the resistance according to the value(s) in the table below.
- Standard Resistance:
-
Tester Connection Switch Condition Specified Condition A47-3 (VLO) — A38-11 (VLO) Ignition switch off Below 1 Ω A47-3 (VLO) or A38-11 (VLO) — Body ground and other terminals Ignition switch off 10 kΩ or higher
Text in Illustration
*a Front view of wire harness connector
(to Inverter with Converter Assembly)*b Rear view of wire harness connector
(to Power Management Control ECU)
-
Connect the inverter with converter assembly connector.
-
Connect the power management control ECU connector.
|
REPAIR OR REPLACE HARNESS OR CONNECTOR |
|||
| OK | |
|
Здравствуйте! Может кто сталкивался и может помочь! Суть вопроса- в движении (около 80 км/ч без резких ускорений) высветился красный треугольник прижался к обочине, выключил авто. И всё больше включить не могу. При попытке завести (включить зажигание) приборная панель на секунду мигает и гаснет… А в ответ тишина… Акб на 12 в — исправен. По колесу стучал, окна протирал… Привезли сканер — не видит авто. |
|
|
Под капотом в блоке предохранителей от плюсового болта под прозрачной крышкой идёт пластина — ТАМ ХИТРЫЙ ИЗОГНУТЫЙ МОСТИК он же предохранитель- надо бы проверить подачу + на всю пластину. Название предохранителя не помню. |
|
|
Алекс62 написал: Здравствуйте! Может кто сталкивался и может помочь! Суть вопроса- в движении (около 80 км/ч без резких ускорений) высветился красный треугольник прижался к обочине, выключил авто. И всё больше включить не могу. При попытке завести (включить зажигание) приборная панель на секунду мигает и гаснет… А в ответ тишина… Акб на 12 в — исправен. По колесу стучал, окна протирал… Привезли сканер — не видит авто. Попробуйте скинуть разъем с помпы гибридной системы и запустить автомобиль. |
|
|
с уважением, Сергей Николаевич. |
|
Сергей Николаевич, большое спасибо! Действительно помпе «кирдык». За 13 лет эксплуатации это 2-я помпа накрылась. (первая- через 7 лет, а вторая -через 6). Но первый раз таких проблем не было, просто показывало перегрев инвертора. А сейчас видимо «короткое» , перегорел предохранитель на 15 А (АМ2). … Скинул разъём помпы — зажигание включилось , но ДВС не заводился. Под рукой был электронасос от газели,подключил — всё заработало. Только это не вариант (так временно пока нет помпы),он быстро выйдет из строя. Ну и гудит конечно сильно. Наверное нужно установить термодатчик, чтобы помпа всё время не молотила. Дольше прослужит. |
|
|
А может лучше поставить помпу с 10-го кузова? |
|
|
Алекс62 написал: Сергей Николаевич, большое спасибо! Действительно помпе «кирдык». За 13 лет эксплуатации это 2-я помпа накрылась. (первая- через 7 лет, а вторая -через 6). Но первый раз таких проблем не было, просто показывало перегрев инвертора. А сейчас видимо «короткое» , перегорел предохранитель на 15 А (АМ2). … Скинул разъём помпы — зажигание включилось , но ДВС не заводился. Под рукой был электронасос от газели,подключил — всё заработало. Только это не вариант (так временно пока нет помпы),он быстро выйдет из строя. Ну и гудит конечно сильно. Наверное нужно установить термодатчик, чтобы помпа всё время не молотила. Дольше прослужит.
1. пожалуйста |
|
|
с уважением, Сергей Николаевич. |
|
Алекс62 написал: А может лучше поставить помпу с 10-го кузова?
У нее производительность недостаточная для 20 Приуса |
|
|
с уважением, Сергей Николаевич. |
|
Здравствуйте, Сергей Николаевич! Цена на помпу и термодатчик(если он есть)? |
|
|
Алекс62 написал: Здравствуйте, Сергей Николаевич! Цена на помпу и термодатчик(если он есть)? в личке |
|
|
с уважением, Сергей Николаевич. |
|
а куда его устанавливать то? термодатчик? его же надо в инвертор подцелять, а родные термотатчики на что? А если от них выводы провести к … какому нибудь блоку управления помпой? Я не совсем понял — зачем дополнительные термодатчики ставить когда есть свои? и, даже, если и надо будет термодатчик ставить — то куда? на мой взгляд, тут всё дело упирается в самодельный блок управления помпой, не? |
|
|
ЧЕМ БОЛЬШЕ Я ЗНАЮ, — ТЕМ СИЛЬНЕЕ Я ПОНИМАЮ, ЧТО Я НИЧЕГО НЕ ЗНАЮ(( |
|
dart8888 написал: а куда его устанавливать то? термодатчик? его же надо в инвертор подцелять, а родные термотатчики на что? А если от них выводы провести к … какому нибудь блоку управления помпой? Я не совсем понял — зачем дополнительные термодатчики ставить когда есть свои? и, даже, если и надо будет термодатчик ставить — то куда? на мой взгляд, тут всё дело упирается в самодельный блок управления помпой, не?
От родных не подойдет |
|
|
с уважением, Сергей Николаевич. |
|
всем привет схемы на портале тойоты нет |
|
|
|
|
olegx5555 написал: всем привет схемы на портале тойоты нет
Это действительно просчет японских инженеров |
|
|
с уважением, Сергей Николаевич. |
|
я не понял почему перегорела перемычка в моноблок-предохранитель( под прозрачной крышкой) на 100 ампер. |
|
|
|
|
olegx5555 написал: я не понял почему перегорела перемычка в моноблок-предохранитель( под прозрачной крышкой) на 100 ампер.
Потому что по всей видимости когда сгорел АМ2 на 15 ампер, то его заменили на более «мощный». Это распространенная ситуация. |
|
|
с уважением, Сергей Николаевич. |
|
поменял помпу- оригинал. |
|
|
|
|
olegx5555 написал: поменял помпу- оригинал. У вас замыкание на массу в инверторе. Проверьте сигнал VLO. Если он сидит на массе, то дешевле заменить инвертор. |
|
|
с уважением, Сергей Николаевич. |
|
вскрыл просмотр изображений доступен только зарегистрированным пользователям 100% это не от перегрева. по любому когда потухла машина пытались прикурить просмотр изображений доступен только зарегистрированным пользователям 100 амперные предохранители просто так не перегорают. |
|
|
|
|
Товарищи! |
|
|
vovanil написал: Товарищи! Привет земляк! |
|
|
|
Расшифровка ошибки P0A09-591 у Toyota: Низкий входной сигнал цепи состояния преобразователя постоянного тока
Марка:
Toyota
Код:
P0A09-591
Определение:
Низкий входной сигнал цепи состояния преобразователя постоянного тока
Описание:
Неисправность сигнальной цепи переключения напряжения (VLO) преобразователя гибридного транспортного средства (преобразователь постоянного тока в постоянный) (обрыв или короткое замыкание на массу)
Причина:
- ЭБУ управления гибридным автомобилем.
- Жгут проводов или разъем
- Преобразователь гибридного автомобиля (преобразователь постоянного / постоянного тока)
Опрос: Где ремонтируется Ваш автомобиль? (Кол-во голосов: 2085)
У себя в гараже
У официалов
В гараже у Васи
Чтобы проголосовать, кликните на нужный вариант ответа.Результаты
From english:
Decoding the error P0A09-591 from Toyota: DC / DC Converter Status Circuit Low Input
Make:
Toyota
Code:
P0A09-591
Definition:
DC / DC Converter Status Circuit Low Input
Description:
Hybrid vehicle converter (DC/DC converter) voltage switching (VLO) signal circuit malfunction (Open or short to GND)
Cause:
- Hybrid vehicle control ECU
- Wire harness or connector
- Hybrid vehicle converter (DC/DC converter)
Еще ошибки категории
Ошибки автомобилей разных произвродителей
Опрос: Смогли ли диагностировать неисправность? (Кол-во голосов: 340)
Да, лично
Да, с помощью знакомого
Да, у официального дилера
Нет
Чтобы проголосовать, кликните на нужный вариант ответа.Результаты
Расскажите друзьям:
Поставьте рейтинг, для нас это очень важно:
Голосов: 0 чел. Рейтинг: 0 из 5.
|
Здравствуйте! Может кто сталкивался и может помочь! Суть вопроса- в движении (около 80 км/ч без резких ускорений) высветился красный треугольник прижался к обочине, выключил авто. И всё больше включить не могу. При попытке завести (включить зажигание) приборная панель на секунду мигает и гаснет… А в ответ тишина… Акб на 12 в — исправен. По колесу стучал, окна протирал… Привезли сканер — не видит авто. |
|
|
Под капотом в блоке предохранителей от плюсового болта под прозрачной крышкой идёт пластина — ТАМ ХИТРЫЙ ИЗОГНУТЫЙ МОСТИК он же предохранитель- надо бы проверить подачу + на всю пластину. Название предохранителя не помню. |
|
|
Алекс62 написал: Здравствуйте! Может кто сталкивался и может помочь! Суть вопроса- в движении (около 80 км/ч без резких ускорений) высветился красный треугольник прижался к обочине, выключил авто. И всё больше включить не могу. При попытке завести (включить зажигание) приборная панель на секунду мигает и гаснет… А в ответ тишина… Акб на 12 в — исправен. По колесу стучал, окна протирал… Привезли сканер — не видит авто. Попробуйте скинуть разъем с помпы гибридной системы и запустить автомобиль. |
|
|
с уважением, Сергей Николаевич. |
|
Сергей Николаевич, большое спасибо! Действительно помпе «кирдык». За 13 лет эксплуатации это 2-я помпа накрылась. (первая- через 7 лет, а вторая -через 6). Но первый раз таких проблем не было, просто показывало перегрев инвертора. А сейчас видимо «короткое» , перегорел предохранитель на 15 А (АМ2). … Скинул разъём помпы — зажигание включилось , но ДВС не заводился. Под рукой был электронасос от газели,подключил — всё заработало. Только это не вариант (так временно пока нет помпы),он быстро выйдет из строя. Ну и гудит конечно сильно. Наверное нужно установить термодатчик, чтобы помпа всё время не молотила. Дольше прослужит. |
|
|
А может лучше поставить помпу с 10-го кузова? |
|
|
Алекс62 написал: Сергей Николаевич, большое спасибо! Действительно помпе «кирдык». За 13 лет эксплуатации это 2-я помпа накрылась. (первая- через 7 лет, а вторая -через 6). Но первый раз таких проблем не было, просто показывало перегрев инвертора. А сейчас видимо «короткое» , перегорел предохранитель на 15 А (АМ2). … Скинул разъём помпы — зажигание включилось , но ДВС не заводился. Под рукой был электронасос от газели,подключил — всё заработало. Только это не вариант (так временно пока нет помпы),он быстро выйдет из строя. Ну и гудит конечно сильно. Наверное нужно установить термодатчик, чтобы помпа всё время не молотила. Дольше прослужит.
1. пожалуйста |
|
|
с уважением, Сергей Николаевич. |
|
Алекс62 написал: А может лучше поставить помпу с 10-го кузова?
У нее производительность недостаточная для 20 Приуса |
|
|
с уважением, Сергей Николаевич. |
|
Здравствуйте, Сергей Николаевич! Цена на помпу и термодатчик(если он есть)? |
|
|
Алекс62 написал: Здравствуйте, Сергей Николаевич! Цена на помпу и термодатчик(если он есть)? в личке |
|
|
с уважением, Сергей Николаевич. |
|
а куда его устанавливать то? термодатчик? его же надо в инвертор подцелять, а родные термотатчики на что? А если от них выводы провести к … какому нибудь блоку управления помпой? Я не совсем понял — зачем дополнительные термодатчики ставить когда есть свои? и, даже, если и надо будет термодатчик ставить — то куда? на мой взгляд, тут всё дело упирается в самодельный блок управления помпой, не? |
|
|
ЧЕМ БОЛЬШЕ Я ЗНАЮ, — ТЕМ СИЛЬНЕЕ Я ПОНИМАЮ, ЧТО Я НИЧЕГО НЕ ЗНАЮ(( |
|
dart8888 написал: а куда его устанавливать то? термодатчик? его же надо в инвертор подцелять, а родные термотатчики на что? А если от них выводы провести к … какому нибудь блоку управления помпой? Я не совсем понял — зачем дополнительные термодатчики ставить когда есть свои? и, даже, если и надо будет термодатчик ставить — то куда? на мой взгляд, тут всё дело упирается в самодельный блок управления помпой, не?
От родных не подойдет |
|
|
с уважением, Сергей Николаевич. |
|
всем привет схемы на портале тойоты нет |
|
|
|
|
olegx5555 написал: всем привет схемы на портале тойоты нет
Это действительно просчет японских инженеров |
|
|
с уважением, Сергей Николаевич. |
|
я не понял почему перегорела перемычка в моноблок-предохранитель( под прозрачной крышкой) на 100 ампер. |
|
|
|
|
olegx5555 написал: я не понял почему перегорела перемычка в моноблок-предохранитель( под прозрачной крышкой) на 100 ампер.
Потому что по всей видимости когда сгорел АМ2 на 15 ампер, то его заменили на более «мощный». Это распространенная ситуация. |
|
|
с уважением, Сергей Николаевич. |
|
поменял помпу- оригинал. |
|
|
|
|
olegx5555 написал: поменял помпу- оригинал. У вас замыкание на массу в инверторе. Проверьте сигнал VLO. Если он сидит на массе, то дешевле заменить инвертор. |
|
|
с уважением, Сергей Николаевич. |
|
вскрыл просмотр изображений доступен только зарегистрированным пользователям 100% это не от перегрева. по любому когда потухла машина пытались прикурить просмотр изображений доступен только зарегистрированным пользователям 100 амперные предохранители просто так не перегорают. |
|
|
|
|
Товарищи! |
|
|
vovanil написал: Товарищи! Привет земляк! |
|
|
|
-
- Joined:
- Apr 29, 2019
- 4
- 0
- 0
- Location:
- Virginia
- Vehicle:
- 2005 Prius
- Model:
- Base
I just bought a 2005 Prius with a dead HV battery. When I replaced the HV battery I had some trouble codes pop up. P0A08, P0A09 & C1310. I’m thinking if I can correct the P0A codes that the C1310 code should go away too. The car runs just fine but has the red triangle and yellow exclamation point with circle. Also has the warning lights on the display for aux battery and car with exclamation point.
I have already replaced the aux battery, fuseable link harness, inverter converter and water pump. I checked all the fuses. I am at my wit’s end at this point not knowing what else to check. I do k ow that water was getting in to the trunk area but don’t know what that could have effected. My guess at this point is that there is some type of connection that is loose or damaged bit still allowing the car to run and charge just fine.
Any insight would be helpful. Thanks you.
-
- Joined:
- May 11, 2005
- 103,269
- 46,840
- 0
- Location:
- boston
- Vehicle:
- 2012 Prius Plug-in
- Model:
- Plug-in Base
you clear the codes, and they keep coming back?
-
What is the evidence that the car is charging just fine? I am referring to the 12V battery being charged, not the high voltage traction battery.
My guess is that, besides having a failed high voltage battery, this car also had a bad 12V battery and suffered from a botched jumpstart where the battery polarity was reversed. Hence the 100A DC/DC fusible link blew. Further, the DC/DC converter within the inverter was damaged. Am I on the right track?
If I am, and you have replaced the inverter and the fusible link within the main relay/fuse box next to the inverter, then measure voltage across the 12V battery when the Prius is READY. The voltage should be around 13.8VDC. If it is much lower, then either the replacement inverter is not working, you failed to replace the 100A DC/DC fusible link, or you have other wiring harness damage.
-
- Joined:
- Apr 29, 2019
- 4
- 0
- 0
- Location:
- Virginia
- Vehicle:
- 2005 Prius
- Model:
- Base
Yes i cannot clear the codes as they reappear instantly
-
- Joined:
- Apr 29, 2019
- 4
- 0
- 0
- Location:
- Virginia
- Vehicle:
- 2005 Prius
- Model:
- Base
The fusable link I replace was the one directly on the aux battery. I have been driving it around a little bit to see of the aux battery would hold a charge. I get 12.8 volts with nothing on and 13.8 with ready. I have not been driving it alot bit the previous owner said he was able to drive around with no problems. I also checked the fuses under the hood to and all seem to be good.
-
- Joined:
- Apr 29, 2019
- 4
- 0
- 0
- Location:
- Virginia
- Vehicle:
- 2005 Prius
- Model:
- Base
-
- Joined:
- Aug 26, 2019
- 1
- 1
- 0
- Location:
- Helsinki, Finland
- Vehicle:
- 2006 Prius
- Model:
- Business Ed. Plus
Did you get any resolution to this?
I’m having exactly the same problems with my 2nd gen Prius here. I’d love to hear if there was some solution. Thanks!
-
I have a 2008 Prius, same problem. P0A09-591 after resetting codes with TechStream and Dr Prius with car off, once engine is started then it also registers P0A08-264 as well. Just replaced inverter with a known good one, 12V battery is good, all fuses good, replaced fusible link at 12v battery. Battery is 12.5V with car off, 13.9V in ready, checked everything I can think of. Anyone have any thoughts? No other codes than these ones. Car still works fine, just want that code and red triangle gone. Any help would be really appreciated. Thanks
Attached Files:
-
- Joined:
- May 11, 2005
- 103,269
- 46,840
- 0
- Location:
- boston
- Vehicle:
- 2012 Prius Plug-in
- Model:
- Plug-in Base
have you researched the codes in the service manual?
-
- Joined:
- Sep 10, 2020
- 3
- 1
- 0
- Location:
- Arizona
- Vehicle:
- 2008 Prius
- Model:
- II
I just wonder how a mouse got in your car, I assume that is where the wire was, inside. Not sure where the outside air comes in when your ac is set to vent, but I have a silverado and a mouse got in there and died, stupid GM did not put a screen over the the hole so I had to.
-
- Joined:
- Apr 15, 2020
- 3
- 0
- 0
- Location:
- Fiji
- Vehicle:
- 2012 Prius Alpha
- Model:
- N/A
-
- Joined:
- Dec 25, 2020
- 358
- 35
- 0
- Location:
- 80521
- Vehicle:
- 2005 Prius
- Model:
- —-USA—-
What is the significance of that connector having that green corrosion on those pins? And the solution? mine has similar but less severe corrosion.
-
The presence of corrosion of those pins is indicative of a leak originating from the rear of the roof channel. (There are many threads that cover this problem.) You should check under the 12 V battery for standing water too and deal with that. If the plug fails from the corrosion the hybrid vehicle battery cooling fan, which is below it, will stop working and you will get hybrid system errors. You should deal with the leak and rehab the plug and connector if possible.
Рассказ о том, как мы «крутячий гибридомобиль» починили скрепкой для бумаги. Описывается хронология поиска неисправности электропроводки после ДТП. Неисправность – ДВС не заводится, горят ВСЕ возможные индикаторы ошибок во главе с красным треугольником.
Предыстория. Черный «леворукий америкос» напал на трамвай – трамвай победил. «Примус» сложился пополам и стал похож на мятый бумажный пакет, на что обиделся и дальше ехать самостоятельно отказался – двигатель не заводился, КПП заблокировалась в режиме «P». Машину кинули в эвакуатор и предложили привезти на ремонт к нам. На тот момент у нас уже были машины в ремонте и «наезднику» Приуса пришлось отказать, и Приус поехал на кузовной ремонт. После восстановления кузова, салона и пр. поврежденных деталей автомобилем занимались пара местных «электриков», но безрезультатно потому, что такой автомобиль одним только сканером ELM327 или китайским мультиметром с пищалкой не починишь. Итак, как вы уже поняли, «примус» все-таки попал к нам в ремонт, но уже после покраски и «кривых рук».
День 1. Первое, что нужно сделать в любом современном автомобиле – диагностика работы электроники. «Насадили» «примус» на сканер – ничего. В смысле, вообще ничего – БК не работает, блоки не отзываются. Меряем напряжение вспомогательного аккумулятора – 7В. Ну, понятно, еле живой аккумулятор – какая там диагностика.
Заменили аккумулятор, БК выдал ошибки P0A40 и P0A41. Ошибки специфические, касаются гибридной установки – неисправность в цепи датчика частоты вращения электродвигателя MG2. Зная, что удар был в переднюю часть автомобиля с левой стороны (а датчик находится именно там), проводим визуальный осмотр целостности датчика – все в норме. После делаем замеры всех 3-х обмоток датчика – контакты 1-4 – 8Ом, 2-5 и 3-6 – 15Ом, «пробоя» на «массу» нет. Все в норме, датчик исправен. Делаем замеры проводки идущей к датчику от БУ гибридной установкой – находим замкнутый на «массу» сигнальный провод MRF и обрыв провода «сигнальной земли» MRFG. Начиная от датчика разматываем косу и в районе генератора MG1 находим перебитый участок проводки в котором оказываются повреждены не только эти провода. В итоге пришлось спаять около 20 проводов с учетом того, что они экранированные. Т.к. поврежденный участок проводки удалось восстановить на небольшой ширине, экранирование проводов восстанавливать не стали потому, что в непосредственной близости датчиков это не имеет смысла.
Сбрасываем ошибки, считываем снова – ошибок нет, все ОК. Проверяем жидкости в ДВС – доливаем антифриз, масло, торм. жидкость, незамерзайку в омыватель. Включаем «зажигание», все замерли… расслабьтесь, нет бензина! Хрен знает куда он делся, но нет вообще. Долили 20 литров, «жмакаем» кнопку START, а он XYЙ нам показал – обидчивый «примусомобиль» решил, что просто так нам не сдастся. Вэтомбылаегошибка…
День 2. Учитывая, что ошибок в работе электронных блоков управления системами НЕТ, а проблема ЕСТЬ, у нас был полный «карт-бланш» на разборку «примуса» по винтикам. Анализируя электросхемы проводки, трансмиссию и кинематику систем, мы неоднократно приходим к выводу, что в гибридном автомобиле главная деталь это не инвертор (как многие думают), а гибридная установка! Гибридной она называется не потому, что она есть результат скрещивания попайя манго и апельсина, а потому, что именно в ней происходит СИНЕРГИЯ двух разных по своей сути движителей для достижения одной цели – ехать «нахаляву». А рулит всей этой «халявой» электронный блок управления гибридной установкой (БУГУ). Сигналы со всех блоков автомобиля идут к нему и он контролирует исправную работу всех систем автомобиля, в «гибриде» он даже главнее пресловутого ЭБУ.
Для того, чтобы проверить работу БУГУ нужен простой компьютерный осциллограф. Мы используем USB-осциллограф-приставку к ноутбуку потому, что «ноут» гальванически развязан с сетью 220В, а это (поверьте) исключает множество неприятностей. Суть в том, что «садясь» щупами осциллографа на КАЖДЫЙ вывод БУ и сравнивая результаты с заведомо исправным БУ или заранее известными картами напряжений и осциллограммами, мы определяем характерную неисправность для каждого контроллера, участвующего в работе нужного БУ. Таким образом, мы определили, что на БУГУ не приходит сигнал READY со ВСЕХ контроллеров системы управления автомобилем. Этот сигнал означает готовность всех блоков к запуску автомобиля (чтобы ехать, для тех, кто в танке) и когда он «ОК» – на дисплее появляется надпись «READY». Т.е., учитывая отсутствие ошибок по блокам, все системы исправны (как на Байконуре), но мы никуда не летим (как на Восточном) потому, что ни один из контроллеров не дал сигнал на старт. Бюрократия, мать ее, добралась и в электронику – пока сигнал на всех инстанциях «добро» не получит, хрен поедешь.
Значит, ищем общее для всех БУ, и находим – неработающий инвертор. При этом, согласно результатам измерений, он исправен – просто не работает. В отпуск ушел? Да нет – на проводе ILK (контакт 1 разъема C1) напряжение питания вспомогательной батареи, а это значит, что вскрыта крышка высоковольтного инвертора, вскрытие которой подразумевает отключение главного реле системы в/в питания. Это реле, по факту, представляет собой «рубильник», в понимании простого колхозника (среднестатистического владельца высокотехнологичного гибрида), с плавкой вставкой. На котором есть дополнительный контакт, сигнализирующий всем блокам управления о том, что «рубильник» выключен. Соответственно силовая часть в/в батареи не подключена и напрягаться не стоит, все равно, далеко не уедем. По задумке инженеров Тойоты для того, чтобы добраться до этого контакта нужно напялить электроизоляционные рукавицы, встать на электроизоляционный коврик, нажраться электроизоляционного саке, перестать быть цы-проводимым, снять в/в батарею и т.д, т.п. и бла-бла-бла. «Да, мы подонки» (цитата из песни про шлюх, которых заставили копать картошку, группы CWT). Разъем достали – контакта НЕТ! Даже не знали, ликовать или нет? Второй пoдъeб уже. Осторожно надеясь на чудо, но чувствуя уверенность в правоте своих рассуждений, временно восстановили контакт канцелярской скрепкой. Включаем «рубильник», меряем напряжение на соответствующем контакте разъема БУГУ – 0.3В (меньше 1В), проверяем пару осциллограмм связанных с сигналом READY – норма, заводим… ЗАВЕЛСЯ!
Не стану приукрашать рассказ о том, как сложно собрать машину назад, в обратном порядке. Кто сам хоть раз делал подобное, понимает, что разобрать в данном случае проще, чем собрать. Итак, все собрано, прибрано, заизолировано, подвязано, машина помыта и готова к вручению хозяину. Делаем пробный выезд на площадку перед гаражом — все ОК. Выезжаем за территорию, отъезжаем от гаража метров на 300 — щелчок под капотом, потом хруст, треск и машина не едет. На дворе 1-й час ночи…
День 3. Затолкали в гараж, осмотрели и оборжались — этот «зверюга-мобиль» провернул шлицы на валу ШРУСА! А вы думали, мощи-то вон скока, аж привода рвет:))) Видео на YouTube. На самом деле, причина такой поломки — слетевшее стопорное кольцо с вала. Из-за чего трипод сдвинулся вглубь стакана внутренней гранаты и держался на самом краю шлицов вала. Соответственно опорная площадь стала недостаточной и край шлицов провернуло. Т.к. восстановить поломанную часть шлицов и канавку под новое стопорное кольцо невозможно приняли решение приварить трипод к валу. На этом сей опус заканчивается.
Рекомендованные сообщения
Привезли Toyota Estima 2008г AHR207012376, не заводиться. С ошибкой на преобразователь P0A09.
Есть ли у кого нибудь схемы этого гибрида или TechDoc по данному автомобилю
Поделиться сообщением
Ссылка на сообщение
Поделиться на других сайтах
Ну правильней сказать инвертор приказал долго жить. А историю до прибытия к тебе не рассказали что и как.
Поделиться сообщением
Ссылка на сообщение
Поделиться на других сайтах
Такой техдок можно купить у Егора estima.su.
Поделиться сообщением
Ссылка на сообщение
Поделиться на других сайтах
Ну правильней сказать инвертор приказал долго жить. А историю до прибытия к тебе не рассказали что и как.
Здравствуйте, сказали что помыли авто и доехали до дома. Через небольшой промежуток времени она уже не завелась
Поделиться сообщением
Ссылка на сообщение
Поделиться на других сайтах
Такой техдок можно купить у Егора estima.su.
Здравствуйте, там можно заказать диск с программой. Но не известно как он придет в Казахстан и сколько будет идти доставка.
Ну правильней сказать инвертор приказал долго жить. А историю до прибытия к тебе не рассказали что и как.
У него преоброзователь стоит отдельно от инвертора, в салоне рядом с батареей
Поделиться сообщением
Ссылка на сообщение
Поделиться на других сайтах
Открывай плату смотри детальки на предмет прогара. У меня на приусе похожая история была висели ошибки P0A08 и P0A09, но авто заводилось. На плате выбило 2 стаба и сдвоенный диод, поменял с залитого донора проблема ушла.
Поделиться сообщением
Ссылка на сообщение
Поделиться на других сайтах
Если вы занимаетесь Hibrid,то должны указать INF код
Поделиться сообщением
Ссылка на сообщение
Поделиться на других сайтах
Если вы занимаетесь Hibrid,то должны указать INF код
P0A08-264, P0A09-265
Поделиться сообщением
Ссылка на сообщение
Поделиться на других сайтах
Если вы занимаетесь Hibrid,то должны указать INF код
Изменено 16 октября 2018 пользователем Alexandr77
Поделиться сообщением
Ссылка на сообщение
Поделиться на других сайтах
В этом скрине нет INF
Откройте DTC а не Friz
Поделиться сообщением
Ссылка на сообщение
Поделиться на других сайтах
В этом скрине нет INF
Откройте DTC а не Friz
INF 265
Всем спасибо за содействие, неисправность была найдена в отделении ног пассажира. Машина является конструктором и в следствии сборки жгут проводов был проложен не в штатном месте. Был найден протертый провод, как раз являвшийся связью между конвертером и ЭБУ гибридной системы.
Поделиться сообщением
Ссылка на сообщение
Поделиться на других сайтах
Создайте аккаунт или войдите в него для комментирования
Вы должны быть пользователем, чтобы оставить комментарий



































