DTC
P27567F Torque Converter Clutch Pressure Control Solenoid Control Actuator Stuck Off
for Preparation Click here
SYSTEM DESCRIPTION
The ECM uses signals from the throttle position sensor, air-flow meter, input speed sensor NT, output speed sensor NC and crankshaft position sensor to monitor the engagement condition of the lock-up clutch.
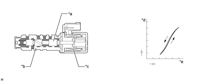
| *a | Spool Valve | *b | Sleeve |
| *c | Solenoid Coil | *d | Hydraulic Pressure |
| *e | Current | — | — |
The ECM compares the engagement condition of the lock-up clutch with the lock-up schedule in the ECM memory to detect mechanical malfunctions of the shift solenoid valve SLU, transmission valve body assembly and torque converter clutch.
| DTC No. | DTC Detection Condition | Trouble Area |
| P27567F | 1. Diagnosis Condition 2. Malfunction Status 3. Malfunction Time 4. Other
DTC Detection Condition 1:
DTC Detection Condition 2:
|
|
MONITOR DESCRIPTION
Torque converter lock-up is controlled by the ECM based on the input speed sensor NT, output speed sensor NC, engine speed, engine load, engine temperature, vehicle speed, transmission fluid temperature, and gear selection signal. The ECM determines the lock-up status of the torque converter by comparing the engine speed (NE) signal to the input speed sensor NT signal and calculates the actual transmission gear by comparing the input speed sensor NT signal to the output speed sensor NC signal. When conditions are appropriate, the ECM requests «lock-up» by applying voltage to the shift solenoid valve SLU. When the shift solenoid valve SLU is turned on, pressure is applied to the lock-up relay valve and locks the torque converter clutch.
If the ECM does not detect lock-up after lock-up has been requested or if it detects lock-up when it is not requested, it interprets this as a malfunction of the shift solenoid valve SLU or in lock-up system performance, illuminates the MIL and stores this DTC.
Example:
If the following conditions are met, the system judges it as a malfunction.
- There is a difference in rotation (speed) between the input side (engine speed) and output side (input turbine speed) of the torque converter when the ECM commands lock-up.
(Engine speed is at least 70 rpm greater than input turbine speed.)
INSPECTION PROCEDURE
- NOTICE:
- Perform registration and/or initialization when parts related to the automatic transaxle are replaced (Click here).
- HINT:
- Using the GTS to perform Active Tests allows relays, VSVs, actuators and other items to be operated without removing any parts. This non-intrusive functional inspection can be very useful because intermittent operation may be discovered before parts or wiring is disturbed. Performing Active Tests early in troubleshooting is one way to save diagnostic time. Data List information can be displayed while performing Active Tests.
- After performing repair, clear the DTCs and perform the following procedure to check that DTCs are not output.
- Perform the Lock-up Function inspection in Road Test (Click here).
- Turn the engine switch off.
- Perform step (a) again.
- Check for DTCs again (Click here).
-
Warm up the engine.
-
Turn the engine switch off.
-
Connect the GTS to the DLC3.
-
Turn the engine switch on (IG).
-
Turn the GTS on.
-
Enter the following menus: Powertrain / Transmission / Active Test / Activate the Lock Up Solenoid.
-
Perform the Active Test according to the display on the GTS.
Transmission
Tester Display Test Part Control Range Diagnostic Note Activate the Lock Up Solenoid Controls the shift solenoid valves SLU and SL to control the automatic transaxle lock-up condition ON/OFF Can be used to check the operation of the shift solenoid valves SLU and SL.
[Vehicle Condition]- Throttle valve opening angle: Less than 20%
- Vehicle speed: 60 km/h (37 mph) or more in 6th gear
- HINT:
- This Active Test can be performed when the vehicle speed is 60 km/h (37 mph) or more.
-
Lightly depress the accelerator pedal and check that the engine speed does not change abruptly.
- HINT:
- When changing the accelerator pedal opening angle while driving, if the engine speed does not change, lock-up is on.
- Slowly release, but not fully, the accelerator pedal in order to decelerate. (Fully releasing the pedal will close the throttle valve and lock-up may be turned off.)
1.CHECK OTHER DTCS OUTPUT (IN ADDITION TO DTC P27567F)
-
Connect the GTS to the DLC3.
-
Turn the engine switch on (IG).
-
Turn the GTS on.
-
Enter the following menus: Powertrain / Transmission / Trouble Codes.
-
Read the DTCs using the GTS.
- Result:
-
Result Proceed to Only DTC P27567F is output A DTC P27567F and other DTCs are output B
- HINT:
- If any DTCs other than DTC P27567F are output, perform troubleshooting for those DTCs first.
|
||||
| A | |
2.INSPECT SHIFT SOLENOID VALVE SLU
-
Remove the shift solenoid valve SLU.
Text in Illustration
*1 Shift Solenoid Valve SLU
-
Measure the resistance according to the value(s) in the table below.
- Standard Resistance:
-
Tester Connection Condition Specified Condition 1 — 2 20°C (68°F) 5.0 to 5.6 Ω
-
Connect a positive (+) lead from the battery with a 21 W bulb to terminal 2 and a negative (-) lead to terminal 1 of the solenoid valve connector. Check that the valve moves and makes an operating sound.
- OK:
- Valve moves and makes an operating sound.
|
||||
| OK | |
3.INSPECT TRANSMISSION VALVE BODY ASSEMBLY
-
Check the transmission valve body assembly (Click here).
- OK:
- There is no foreign matter on each valve and they operate smoothly.
|
REPAIR OR REPLACE TRANSMISSION VALVE BODY ASSEMBLY (Click here) |
|||
| OK | |
4.INSPECT TORQUE CONVERTER ASSEMBLY
-
Check the torque converter assembly (Click here).
- OK:
- The torque converter assembly is normal.
|
||||
| OK | |
|
REPAIR OR REPLACE AUTOMATIC TRANSAXLE ASSEMBLY (Click here) |
Привет всем.
Возможноиэто многим эта запись поможет. А именно кому греет голову АКПП
Ни один человек на Drive2, в группе в вк не дал мне дельного совета по моей проблеме. Ни в одном поиске я не чего не нашел об этой проблеме.
Кто наблюдает за моим б.ж знает что перед новым годом я заменил акпп, дак вот!
3 недели назад я еду не спеша так сказать качу по городу и вдруг выстреливает чек.
Особо не испугался этого «это же toyota» поехал до знакомого и сделал диагностику при помощи китайского саанера.
Ошибка была p2757 ! тогда я еще даже и не думал что запомню эти цифры на долго… Сразу расшифровали ее, и тут б**** выяснилось что ошибка по коробке…
Тут я успугался не много и сбросив ее поехал далее. Уже дома посмотрел что делают с такой ошибкой и особо ни чего не нашел.
Ошибка звучала так
Поглядев что она значит на других авто, начал пробовать с малого…
Заехал к парням у кого обслуживаю авто сделал диагностику хорошим сканером, они развели руками и сказали х.з .Сделали адаптацию коробки, не помооло…
. Почистил заслонку, была очень грязная…не помогло…
Посмотрел состояние свечей, норм.
. Взял со старой саниной коробки соленоид, поменял соленоид slu… Не помогло!
Заказал у макса комп управлением двигателя, бля.дь су.ка даже тачка не завелась…
Че делать? Все варики что советовали все попробовал. Не ужели стоит заказывать коробас?!
И все это время когда я делал эти процедуры я был записан к самому опытному электрику у нас в городе. Приходит моя очередь ехать к нему, так скажем день Х)))
Приезжаю оставляю тачку. Он говорит будем соленоид менять. Приезжаю вечером говорит готово! Поменял соленоид, все поехали тэстить. Едем и как коробка нагрелась су.ка снова чек.
Он говорит все ясно, давай комп. Достаю свой комп и комп который мне прислал Макс
Запчасти на фото: 2753002351
идем к нему в бокс где стоит около 15ти автомобилей с открытым капотом (на улице стояло еще такое же количество машин) заходим к нему в каморку и подкуривая сигарету он начинает с моего компа выпаивать две микросхемы
затем он эти микросхемы подключает через сканер к компу И считывает все данные начиная с вин номера и заканчивая данными по которым прописан мой ключ затем все это скидывает на такие же два чипа выпаянных с компа который я привез и впаивает их обратно. Докуривает сигарету и говорит иди ставь! Я с ОГРОМНЫМИ глазами от увиденного иду ставлю и тачка заводится… Катаюсь час, два, три, день, два дня, три дня, все норм!
По словам этого мастера, если начинает моросить коробка то это чаще всего дело в компе, и если на ранней стадии не востановить комп то в дальнейшем придется заменить АКПП. И не обязательно чтобы эта ошибка была p2757.
все равно его не брошу, потому что он хороший!
Спасибо большое парням кто мне помог.
Саня sany-01
Макс kuma090
И сам электрик Женя resid17
- Terms and rules
- Privacy policy
- Help
- Home
Community platform by XenForo® © 2010-2021 XenForo Ltd.
«TOYOTA» is a registered trademarks of Toyota Motor Corporation. TOYOHEADQUARTERS is used in the title of this website solely to identify the subject of interest to the website. Toyota Motor Corporation, Toyota Motor Sales, U.S.A., Inc. and their affiliated companies are not responsible in any way for the contents of the site, which are solely the responsibility of the publisher. The contents of the website do not reflect the policy or opinions of Toyota Motor Corporation, Toyota Motor Sales, U.S.A., Inc. or any of Toyota’s affiliated companies. This website is not affiliated with, endorsed, sponsored, or supported by Toyota Motor Corporation, Toyota Motor Sales, U.S.A., Inc. or any of Toyota’s affiliated companies.
Выполняются все перечисленные ниже условия (логика диагностирования за 2 поездки):
-
Температура охлаждающей жидкости составляет 40°C (104°F) или выше.
-
Температура ATF составляет -10°C (14°F) или выше.
-
Автомобиль движется с рычагом переключения передач в положении D.
-
В электромагнитных клапанах (SL1, SL2, SL3, SL4 SL и SLU), датчиках оборотов трансмиссии (NT и NC), датчике температуры охлаждающей жидкости двигателя, датчике температуры масла, датчике детонации, датчика положения коленчатого вала, электронной системе управления дроссельной заслонкой или системе передачи данных CAN неисправностей не обнаружено.
-
Когда ECM подает команду на включение блокировки, блокировка не включается.
-
Электромагнитный клапан (SLU) остается открытым или закрытым
-
Корпус клапанов трансмиссии заблокирован
-
Гидротрансформатор в сборе
-
Автоматическая трансмиссия в блоке с главной передачей (муфта, тормоз, передача и т.д.)
-
Слишком низкое магистральное давление















